手提袋结构图

手提袋结构
图片尺寸701x2315
手袋部件名称
图片尺寸473x473
供应空白手提帆布袋 丝印无底无侧帆布手提袋超市购物棉布包装袋
图片尺寸790x1230
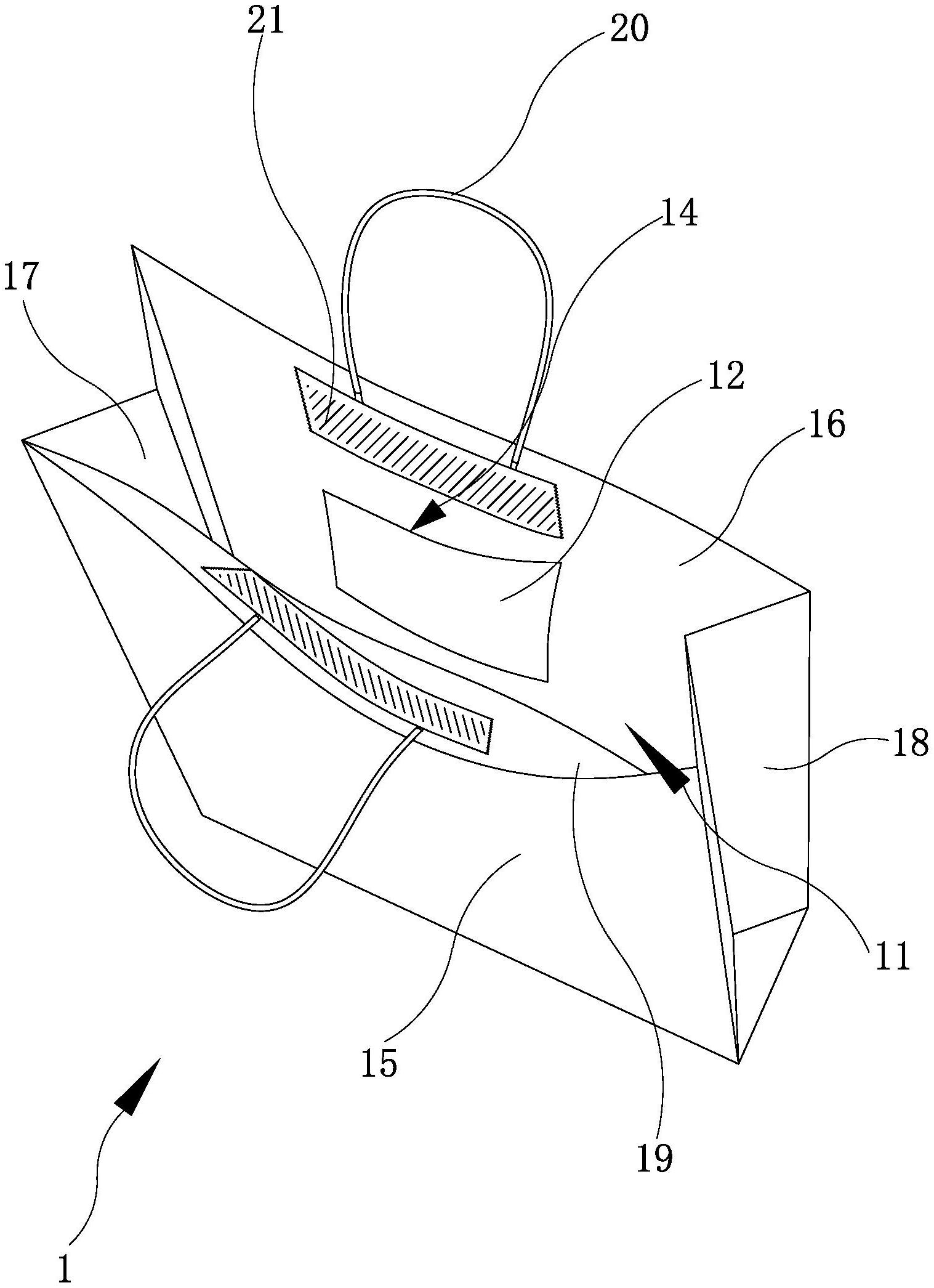
一种手提袋结构
图片尺寸1517x2091
适合初学者的手提袋纸样 制作教程合集!
图片尺寸640x898
新款通用加厚牛皮纸手提袋茶叶罐拎袋复古纸质礼品袋现货定做
图片尺寸750x1282
狗粮食品包装袋定制塑料拉链自立自封袋八边封燕麦铝箔袋定做
图片尺寸900x973
手提袋个性礼品纸袋 化妆品手挽袋 厂家生产服装店白卡包装袋
图片尺寸750x920
手提购物袋设计结构图剖析-北京西风东韵设计公司
图片尺寸1024x614
浙江温州【韩强彩印】正山小种手提纸袋 茶叶包装手提袋 茶叶礼品袋
图片尺寸750x785
手提袋展开图
图片尺寸1024x614
背景技术:现有的手提袋,其结构一般包括具有袋口的袋体,圆形的手提绳
图片尺寸1000x945
ai设计手提袋
图片尺寸6980x4896
一种手提袋结构的制作方法
图片尺寸1000x942
牛皮纸食品袋 塑料袋通用包装拉链 袋糖果纸袋 茶叶袋开窗自封自
图片尺寸750x555
一种分离式手提袋的制作方法
图片尺寸858x1000
现货 空白无纺布袋 手提袋 可定制 印logo
图片尺寸1920x1893
设计师必备: 常用手提袋尺寸 hi~大家好呀,我会在这里每天分享包装
图片尺寸960x1280
公司手提袋设计
图片尺寸3000x1973
cn211544433u_一种易折叠的立式手提袋有效
图片尺寸962x1315