手斧图纸

斧头德款户外斧子木工砍伐家用剁骨野营处理品工兵斧
图片尺寸750x375
一种防卡式斧子的制作方法
图片尺寸816x418
一种具有防卡功能的斧子的制作方法
图片尺寸802x347
绘画教程:斧子-武器绘制教程
图片尺寸500x514
tool holder with centering adjustment
图片尺寸2320x3408
catia怎么画斧头啊 用哪几个命令
图片尺寸642x395
二维工程图纸
图片尺寸967x799
kupplung zur drehmomentübertragung von einem durch
图片尺寸1536x2889
一种便于拆装更换的消防斧
图片尺寸1889x1231
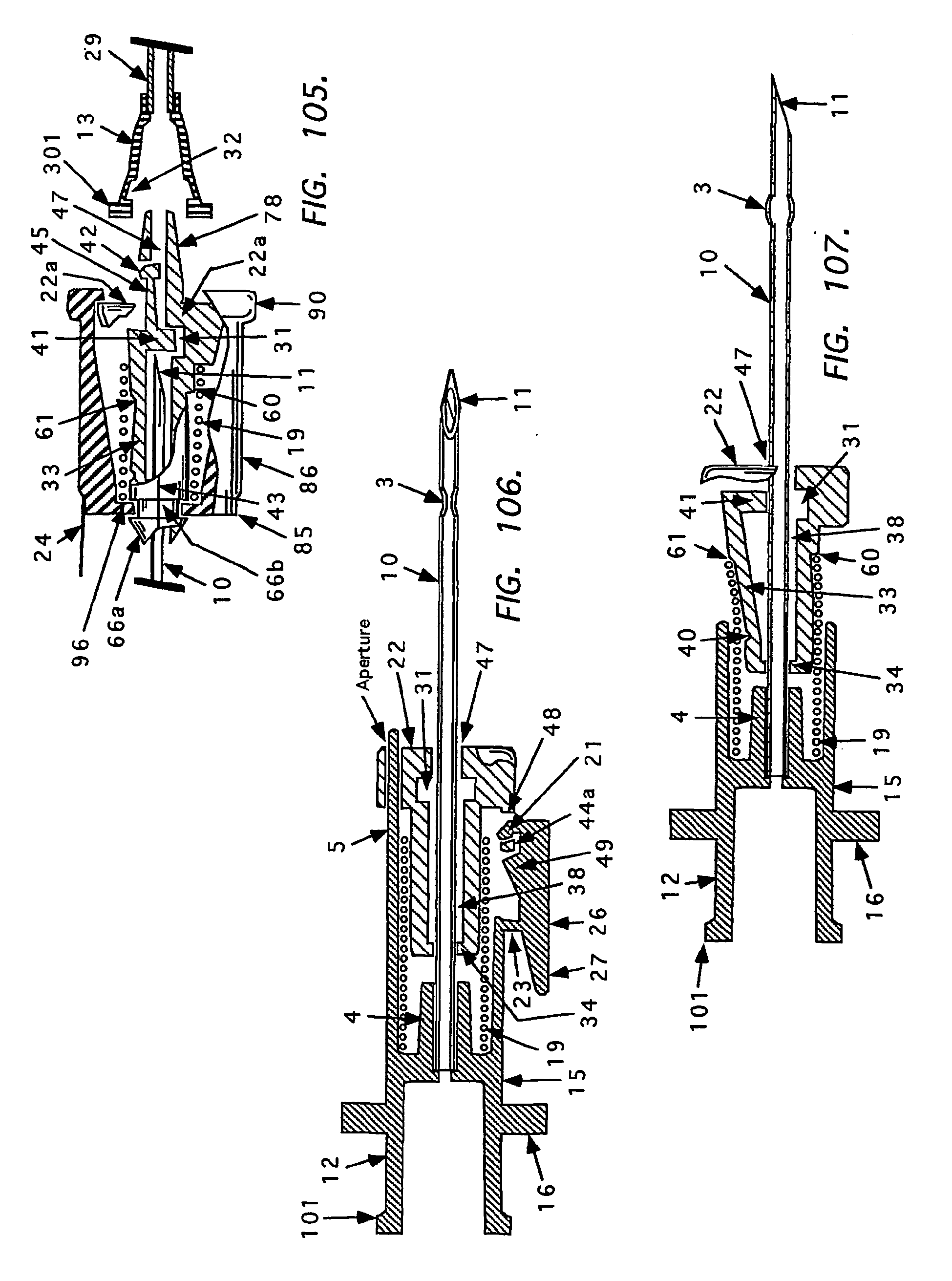
nadelspitzenschutz für perkutane zugangsnadeln
图片尺寸1949x2622
gert zum wahlweisen einstellen der temperatur einer
图片尺寸1842x2908
新型斧头
图片尺寸1691x922
procédé et dispositif de fabrication de botes à
图片尺寸1866x2693
额第二次发帖去年画的军用手斧
图片尺寸845x544
oil firing installation with reduced nitrogen oxide
图片尺寸1856x2888
制作錾口榔头
图片尺寸598x891
斧头的制作方法
图片尺寸1000x390
西安东郊国棉五厂汉墓发掘简报
图片尺寸599x715
荒野大镖客2怎么使用手斧荒野大镖客2改良手斧怎么获取
图片尺寸512x256
apparatus for peeling hard-boiled eggs
图片尺寸1794x3036