手术剪简笔画

背景技术:手术剪是主要用于剪断皮肤或肌肉等粗软组织的一种临床手术
图片尺寸511x246
剪刀手术工具图标细线
图片尺寸887x1200
一种医用细杆手术剪-爱企查
图片尺寸725x800
剪子简笔画 剪子简笔画图片
图片尺寸500x333
手术剪简笔画
图片尺寸160x262
剪子简笔画的画法
图片尺寸800x677
多功能手术线剪
图片尺寸1924x878
指甲剪的矢量插画-正版商用图片1sd4mm-摄图新视界
图片尺寸700x700
手术线剪简笔画教程
图片尺寸900x600
复合涂层手术剪及其制备方法技术
图片尺寸515x1000
一种多功能眼用手术剪制造技术
图片尺寸498x1000
夹拉式手术剪-爱企查
图片尺寸1590x2274
一种新型眼用手术剪-爱企查
图片尺寸926x1326
剪子简笔画
图片尺寸600x615
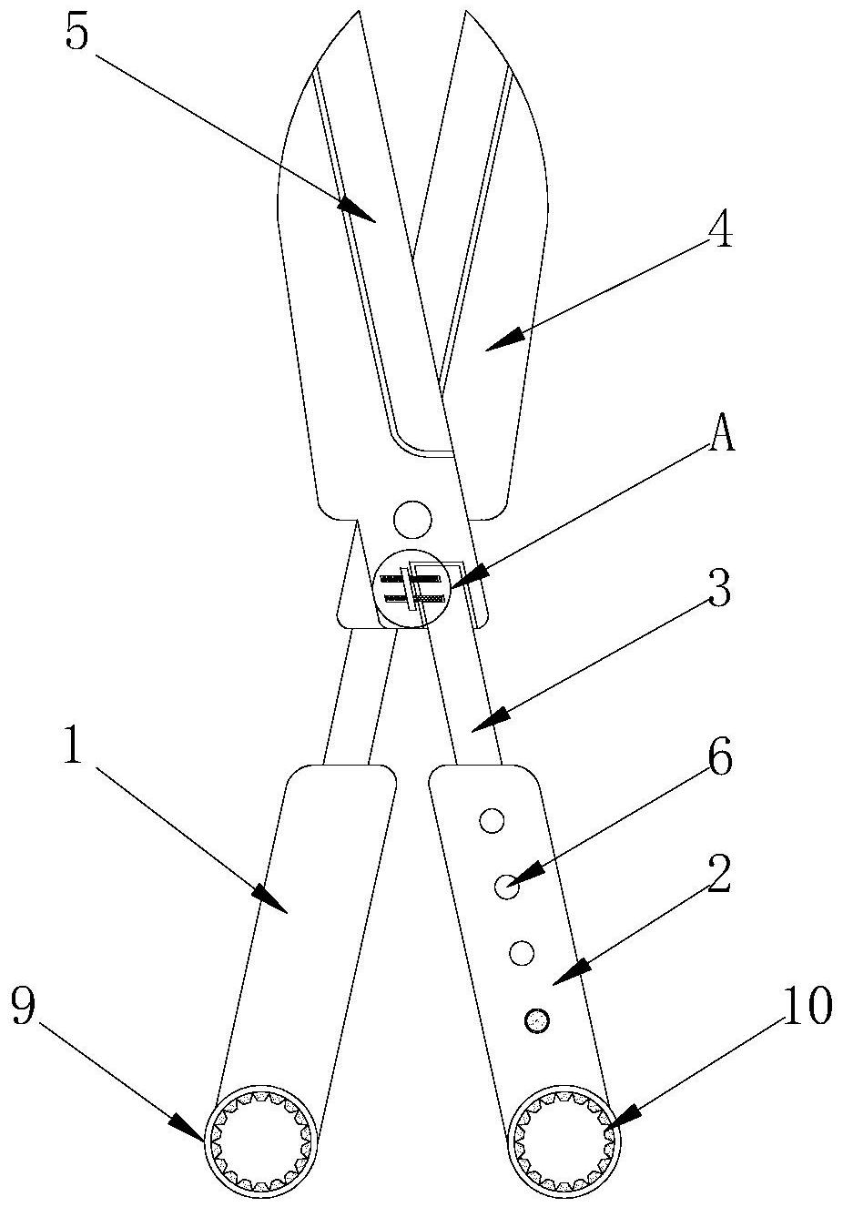
一种手术剪
图片尺寸282x360
一种妇科手术用便于拿取操控的弯头剪
图片尺寸1072x1689
cn204121116u_一种拾取式手术剪失效
图片尺寸733x1000
背景技术:通常在外科手术过程中,行剪除工作的手术剪与行钳夹工作的
图片尺寸1000x934
手术剪:有两种,分别是尖头剪和圆头剪,主要用于剪柔软的皮肤,肌肉
图片尺寸653x338
医疗手术剪刀的制作方法
图片尺寸430x296