手术器械简笔画

手术器械.医用手术刀,钳,镊子或镊子线图标.手术的象征.矢量插图.
图片尺寸1100x1100
医用器具简笔画
图片尺寸500x500
医疗用品简笔画好看
图片尺寸612x792
涂鸦套医疗设备插画-正版商用图片0ufnmw-摄图新视界
图片尺寸700x700
手术工具医疗器械免抠
图片尺寸1024x1542
手术工具图标线元素
图片尺寸1100x1100
2.外观设计产品的用途:一款医疗器械,用于神经外科手术的显微镜.
图片尺寸1763x1743
手术器械简笔画卡通
图片尺寸500x623
图标
图片尺寸512x512
手术器械简笔画卡通
图片尺寸400x400
医生的用品简笔画
图片尺寸467x500
简单简笔画器具类
图片尺寸371x400
向量集的医疗设备插画-正版商用图片0pup4c-摄图新视界
图片尺寸700x700
intrauterine device
图片尺寸1038x1185
医疗设备图标,注射器可爱的设计
图片尺寸1100x1100
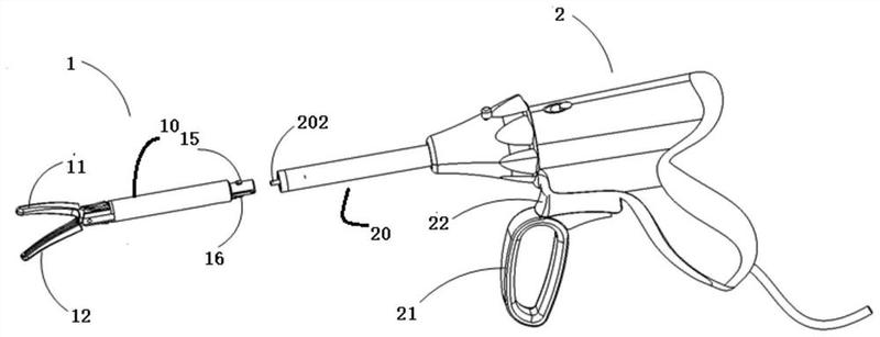
一种可拆卸的外科手术器械-爱企查
图片尺寸800x307
医学科普小知识 22种手术室器械的简笔画及用途介绍
图片尺寸900x600
背景技术:2.止血钳是一种通过夹住血管实现血液阻断的外科手术器械.
图片尺寸834x312
黑白相间的医疗保健设备
图片尺寸1200x981
医疗用品简笔画好看
图片尺寸500x500