手术灯简笔画

一文带你了解手术无影灯的发展历程
图片尺寸640x610
手术灯简笔画
图片尺寸900x600
灯手术灯图标轮廓灯手术灯矢量图标用于在白色背景上隔离的网页设计灯
图片尺寸1024x878
卡通手术灯矢量图下载
图片尺寸572x860
外科手术灯和用于操作外科手术灯的方法技术
图片尺寸892x1000
一种无影率高的手术灯-爱企查
图片尺寸772x800
背景技术:手术无影灯(简称手术灯)是手术室必不可少的常用设备,该设备
图片尺寸922x1000
医生手术灯简笔画
图片尺寸500x500
一种新型手术无影灯装置
图片尺寸1260x1298
手术灯
图片尺寸544x1359
手术灯简笔画
图片尺寸926x500
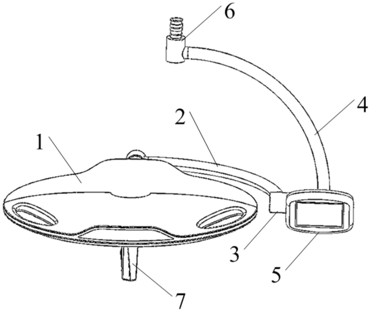
一种具有动态调节功能的手术灯
图片尺寸1296x1090
医用手术灯-爱企查
图片尺寸1517x823
医用手术灯(d)
图片尺寸344x736
医用手术灯(d)
图片尺寸752x763
cn210800834u_一种手术无影灯有效
图片尺寸909x1000
手术灯
图片尺寸630x709
一种舰艇用led无影手术灯-爱企查
图片尺寸1672x1368
适用于医院外科的手术灯的制作方法
图片尺寸1000x798
手术灯
图片尺寸544x1359