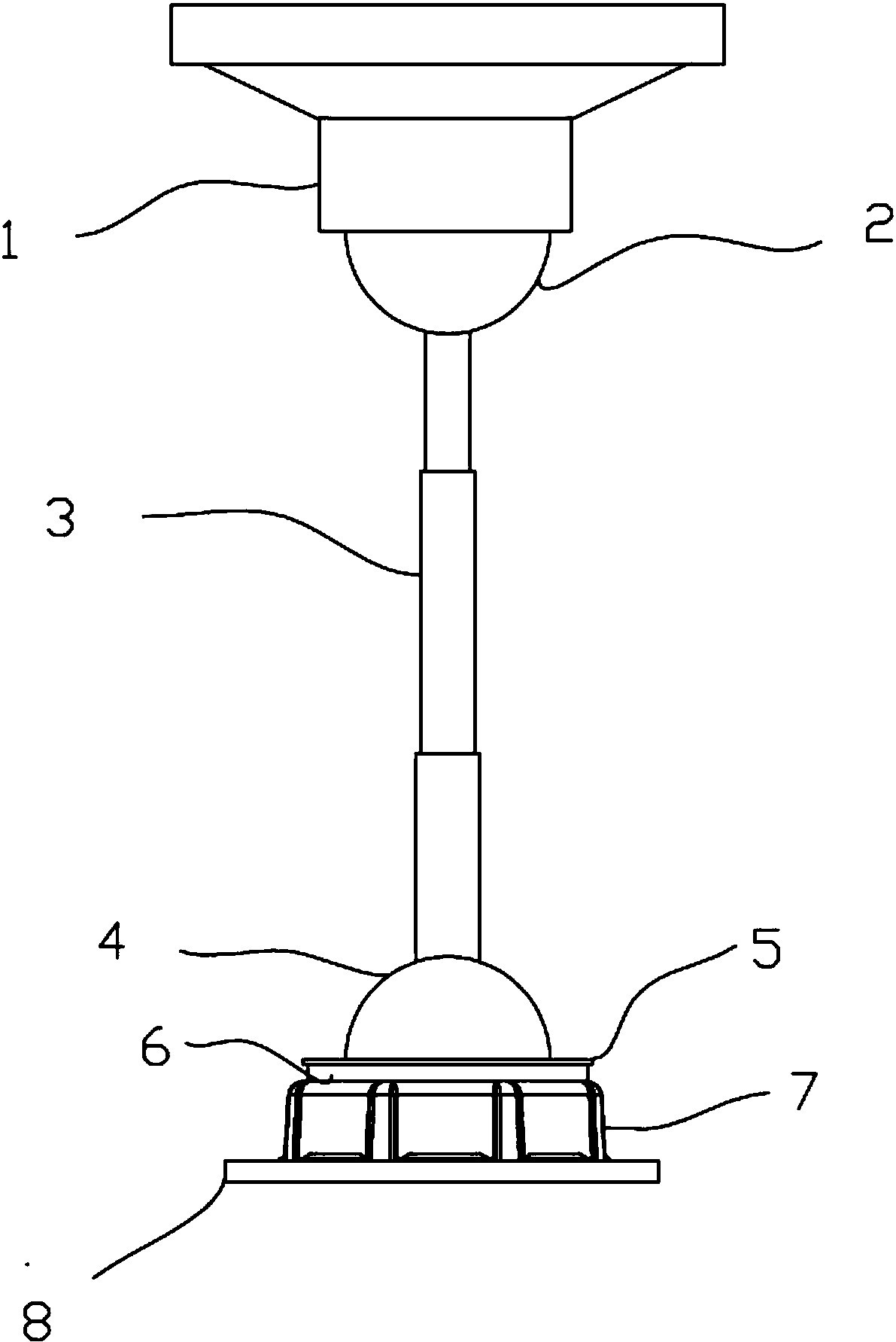
手机支架伸缩原理图

一种便携的带风扇的可伸缩夜灯手机支架
图片尺寸603x852
桌面手机俯拍支架
图片尺寸1440x2374
手机支架结构的制作方法
图片尺寸357x444
这款手机支架可以调节高矮,还可以横屏竖屏,三百六十度旋转调节更是没
图片尺寸1440x1924
手机支架弹簧掉出来了怎么装回去?
图片尺寸960x1280
网红直播手机支架可伸缩可旋转折叠支架拍视频拍照直播落地三脚 - 抖
图片尺寸1440x1924
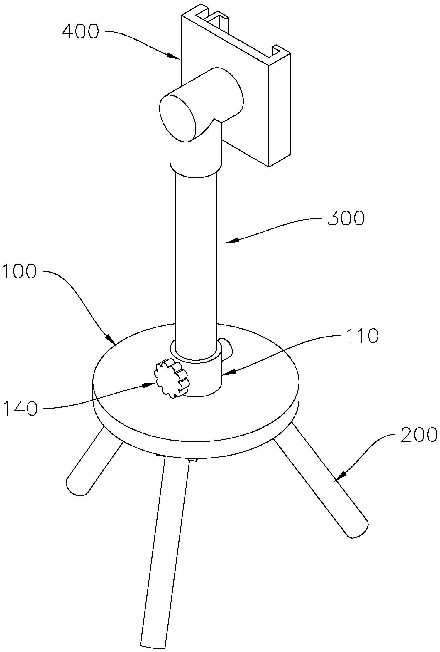
一种手机支架的伸缩杆组件的制作方法
图片尺寸760x1000
cn306342154s_手机支架(伸缩)
图片尺寸407x650
超稳定!伸缩底盘加重款手机支架
图片尺寸720x1280
一种360度旋转伸缩手机支架
图片尺寸1191x1783
手机支架桌面直播支架多功能手机架可伸缩,拍视频的好帮手
图片尺寸2160x3840
一种可保护颈椎的手机折叠支架的制作方法
图片尺寸703x1000
一种手机直播支架
图片尺寸1500x2220
这款铝合金手机支架可自由伸缩,适应各种屏幕尺寸,让手机稳稳当当
图片尺寸1440x2374
厂家直销手机支架桌面金属伸缩折叠抖音直播支架平板电脑支架定制
图片尺寸1080x1546
第八代加固款空调出风口三用款可伸缩360旋转车载手机支架吸盘式汽车
图片尺寸790x1272
手机支架桌面直播支架多功能手机架可伸缩,拍视频的好帮手
图片尺寸2160x3840
手机支架创意桌面懒人床头平板电脑架 伸缩可拉伸撑直播手机
图片尺寸750x1490
可折叠,可伸缩手机支架,加重稳固,方便携带,收 - 抖音
图片尺寸1440x1920
手机支架,上下升降伸缩手机支架
图片尺寸800x1422