手机麦克风结构

每天都用手机你对麦克风了解吗
图片尺寸721x527
纽曼newmine无线蓝牙手机主播麦克风
图片尺寸750x940
步步高vivox9听筒开机音量指纹x9sx9sl前后手机零部件
图片尺寸750x750
取下麦克风底部的盖板.盖板内侧结构一览.
图片尺寸1200x675
手机生活 新闻 评论 > 正文 通过测试配备4个麦克风的iphone 6s
图片尺寸640x427
boya博雅by-mm1 pro手机麦克风如何连接电脑
图片尺寸662x535
分享:手机话筒结构设计系统资料
图片尺寸601x397
手机听筒的安装结构和手机的制作方法
图片尺寸1000x985
苹果7麦克风无法启动怎么解决(苹果7麦克风用不了怎么办) 6
图片尺寸640x643
新装软件有冲突或系统问题,导致手机无送话或者送话声音小等故障
图片尺寸640x528
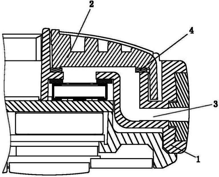
一种手机麦克风的声音通道结构-爱企查
图片尺寸768x624
三星手机3812的麦克风在那
图片尺寸577x426
raykingtek-麦克风3. airoha- ab1562f-蓝牙5.
图片尺寸1500x1000
cn101370042a_一种底部导音麦克风结构的手机有效
图片尺寸1236x1405
唱吧c1 手机麦克风话筒 (单位:个) 金色
图片尺寸750x1218
消费电子 新闻 正文 麦克风4(位于手机底部) 麦克风4来自歌尔声学
图片尺寸1024x689
在手机k歌上,传统的手机k歌麦克风由音频
图片尺寸1000x985
每天都用手机你对麦克风了解吗
图片尺寸746x453
一篇看懂麦克风的种类(电容,动圈和铝带麦克风)__财经头条
图片尺寸600x390
麦克风外壳内侧结构一览.
图片尺寸1199x800