手车式开关柜结构

结构kyn28-12型铠装中置式金属封闭开关柜整体是由柜体和中置式可抽出
图片尺寸581x581
一种手车式开关柜的制作方法
图片尺寸1000x973
一种开关柜电动手车的制作方法
图片尺寸444x433
高压开关柜中的"手车"是什么
图片尺寸450x294
为了保证电力网安全运行,确保设备和人身安全,防止误操作,开关柜必须
图片尺寸1000x971
12千伏手车式开关柜标准化设计定制方案2019年版
图片尺寸528x703
一种能对输出电压进行监测调控的kyn28a-12手车式高压开关柜
图片尺寸1000x969
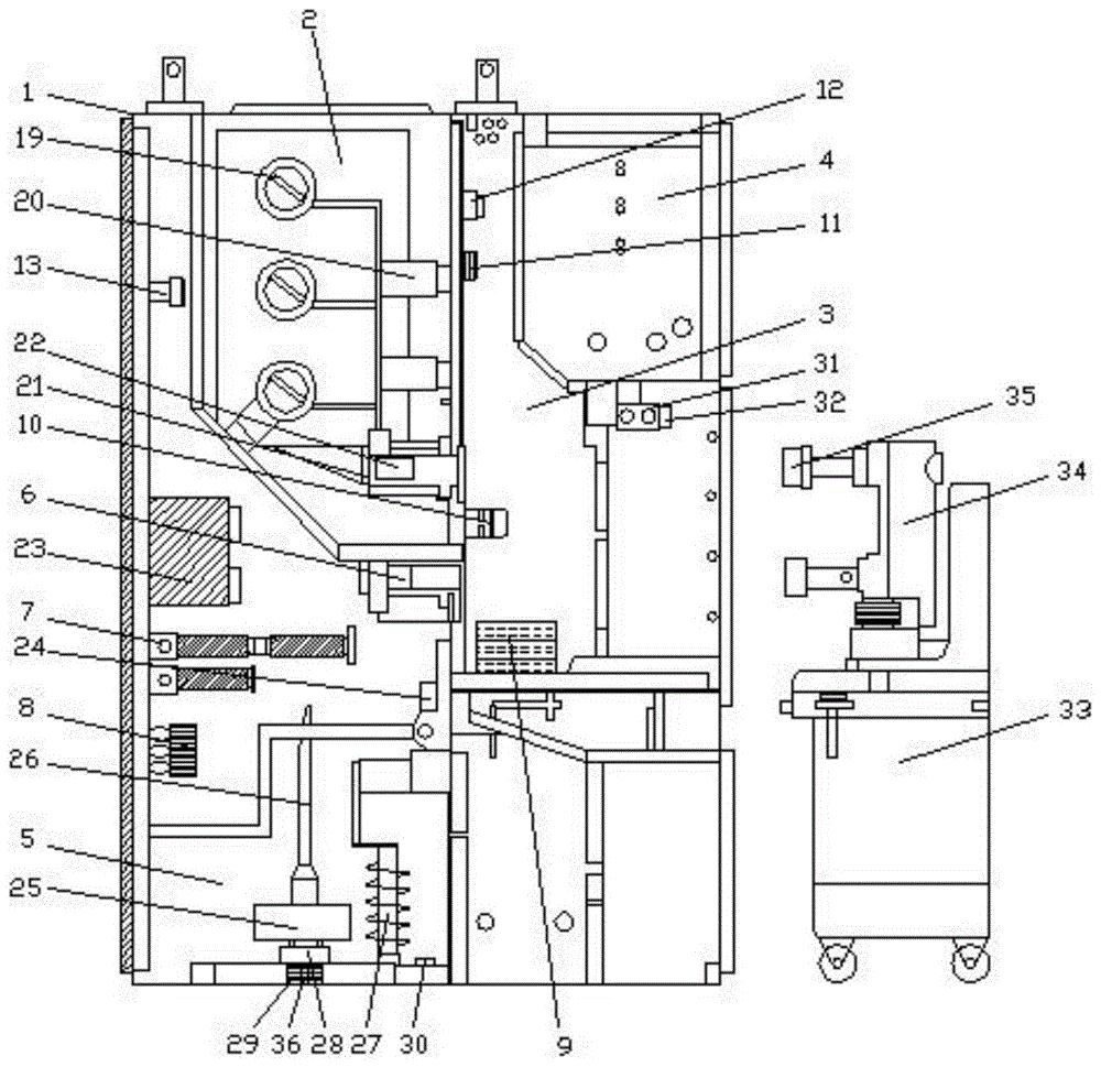
手车式开关柜的制作方法
图片尺寸881x1000
12千伏手车式开关柜标准化设计定制方案2019年版
图片尺寸978x898
讲一讲户kyn28开关柜常用手车
图片尺寸960x720
kyn柜内配置各功能手车知识讲解_开关柜_结构_高压
图片尺寸960x720
一种新型紧凑式手车式开关柜的制作方法
图片尺寸841x1000
一种通用型开关柜用短路试验手车-爱企查
图片尺寸694x800
24kv隔离手车24kv高压隔离开关厂家kyn28柜24kv隔离手车
图片尺寸750x1347
12千伏手车式开关柜标准化设计定制方案2019年版
图片尺寸520x674
2固定式手车式高压开关柜安装单元工程质量评定表
图片尺寸459x474
5手车式高压开关柜
图片尺寸672x452
供应高压开关柜kyn28a许继成套智能配电柜智能电网配套设备许继高压柜
图片尺寸575x576
kyn柜内配置各功能手车知识讲解_开关柜_结构_高压
图片尺寸960x720
cn201282284y_金属铠装移开式开关柜有效
图片尺寸2055x2525