打印头结构

一种喷墨打印头结构-爱企查
图片尺寸1842x1666
了解针式打印机打印头的组件结构
图片尺寸640x474
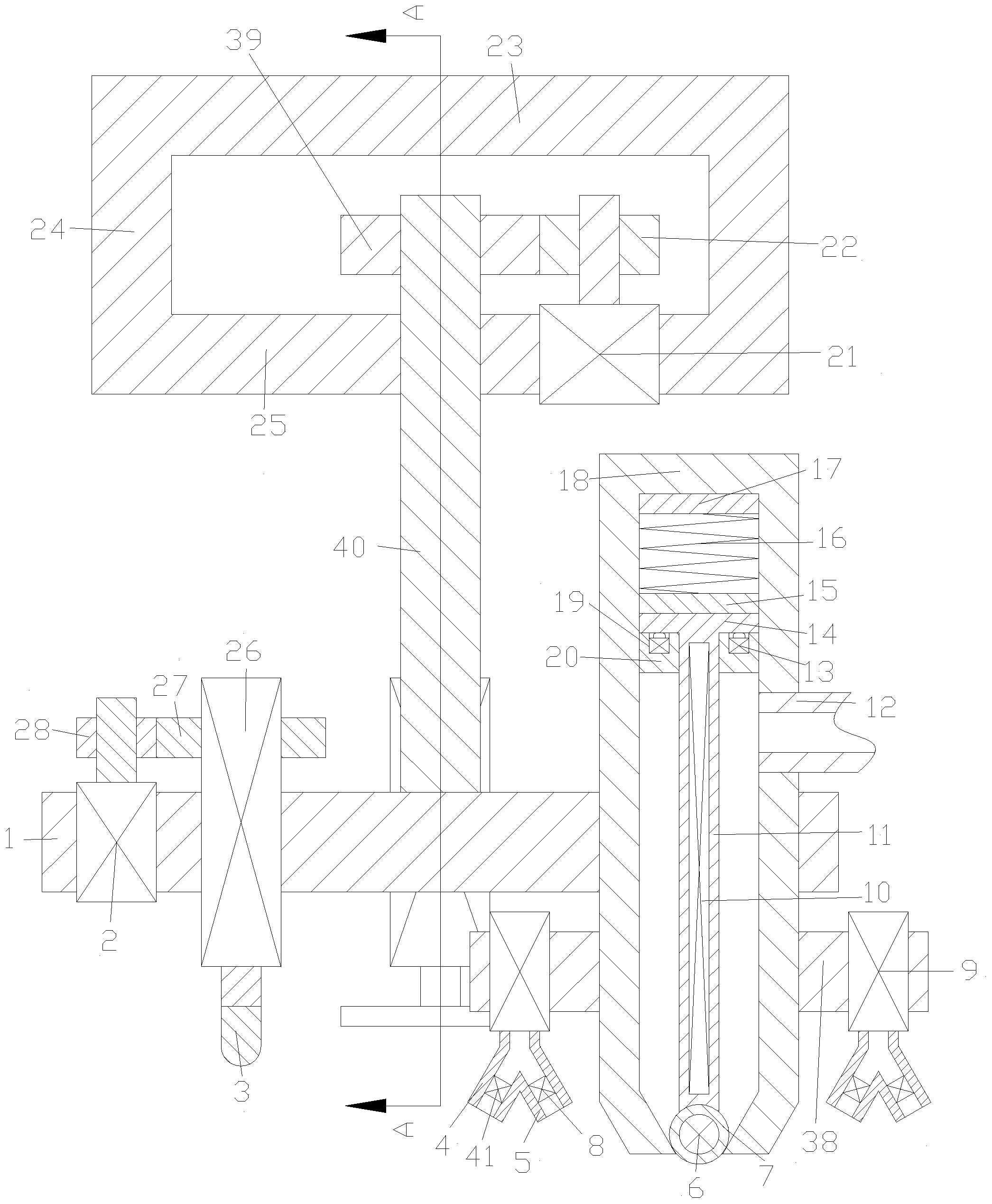
一种复合3d打印头
图片尺寸2091x2537
了解针式打印机打印头的组件结构
图片尺寸640x516
一种喷墨打印头结构的制作方法
图片尺寸1000x904
打印头按击针方式可分为螺管式,拍合式,储能式,音圈式和压电式.
图片尺寸464x266
一种条码打印机用热敏打印头的定位结构
图片尺寸2467x1752
不同的打印头结构
图片尺寸511x347
针式打印机之打印头的拆解
图片尺寸559x236
了解针式打印机打印头的组件结构
图片尺寸640x473
一种3d打印机打印头结构制造技术
图片尺寸1000x928
606打印头 结构.jpg
图片尺寸700x454
针式打印机打印头及其组件的检修方法
图片尺寸546x882
一种新型3d打印机用全金属水冷打印头结构-爱企查
图片尺寸800x696
fdm熔融沉积成型3d打印机打印头结构
图片尺寸550x400
针式打印机打印头及其组件的检修方法
图片尺寸588x274
图2-11 两种边缘型打印头结构简图和记录介质通过特点
图片尺寸1026x465
3分钟了解柯尼卡美能达工业喷墨打印头
图片尺寸448x268
喷墨打印机喷头结构图
图片尺寸700x472
打印头总成/控制面板/介质门/介质供应导板/介质供应架/色带拾取取
图片尺寸756x528