打孔器简笔画

钻孔图标图片-钻孔图标素材-钻孔图标插画-摄图新视界
图片尺寸285x300
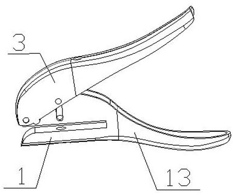
纸张打孔器
图片尺寸1551x916
一种按压式打孔器-爱企查
图片尺寸1169x1180
纸张打孔器
图片尺寸1726x1344
打孔机(wd206h)-爱企查
图片尺寸1023x1029
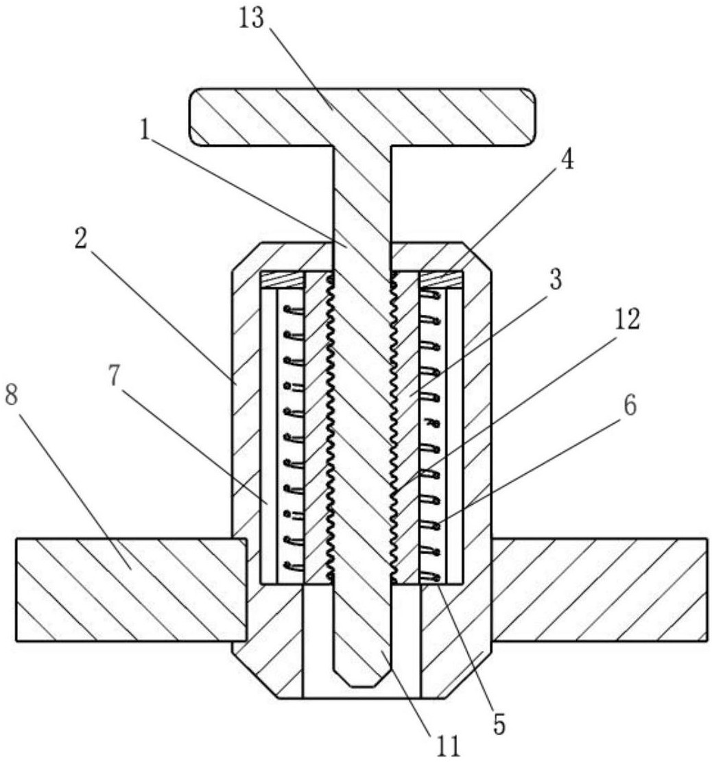
cn208020340u_一种医用引流管打孔装置有效
图片尺寸1406x764
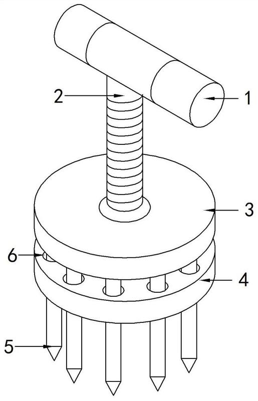
一种食用菌菇种植用打孔器-爱企查
图片尺寸515x800
钻孔机简笔画
图片尺寸720x629
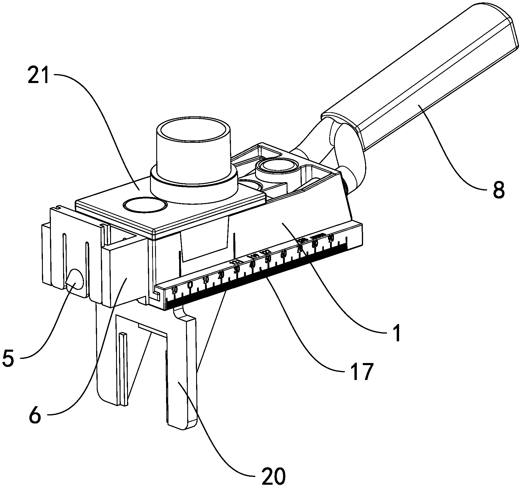
一种纸张打孔器-爱企查
图片尺寸799x670
食料打孔器-爱企查
图片尺寸800x628
打孔器图片_打孔器高清图片_全景视觉
图片尺寸401x260
计算机图标,矢量,钻孔机,设计,模板
图片尺寸1100x1100
财务凭证打孔器-爱企查
图片尺寸1443x1266
一种水利工程用板材打孔装置-爱企查
图片尺寸539x800
一种装修用打孔器-爱企查
图片尺寸1038x1111
电机外壳一次性打孔器-爱企查
图片尺寸315x446
大钻机图标
图片尺寸512x512
多功能打孔器
图片尺寸1754x1640
商标logo
图片尺寸768x1849
一种打孔器的制作方法
图片尺寸972x1000