打扣机原理图

一种连杆式钉扣机的制作方法
图片尺寸959x1000
一种包边打扣机-爱企查
图片尺寸2594x1887
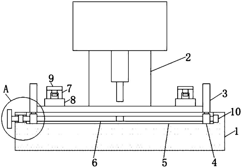
一种打扣机及工作方法与流程
图片尺寸1000x744
cn207370170u_一种可调节式衣服扣眼打点机有效
图片尺寸447x472
一种包装盒用打扣机-爱企查
图片尺寸799x556
自动钢丝打扣机的设计含cad零件装配图
图片尺寸1913x983
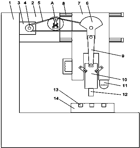
一种打扣机下冲模高度调节机构的制作方法
图片尺寸709x1000
四合扣 打扣机 钉扣机大白扣机 金属塑料钉钮机 铆钉敲钮机 电动
图片尺寸2448x2448
自动打扣机器 #自动立扣打扣机 - 抖音
图片尺寸750x1128
香肠打扣机食用菌柚子手动打包装封口机火腿肠打扣机u型包邮
图片尺寸750x791
火腿肠手动打扣机包装封口机香肠u型铝卡扣家用超市食用菌打卡机手动
图片尺寸790x1383
篷布打扣机 篷圈鸡眼机 网布帆布油布压铆打眼 一次成型无需打孔
图片尺寸800x533
邦达供应铆钉铆合机,供应邦达水桶扣铆钉机
图片尺寸1936x2592
厂家直销 篷布打扣机 压扣机 操作简便 质量稳定 性价比超高
图片尺寸800x1067
散热_整机_主板
图片尺寸2088x1392
服装纽扣 订扣机 电脑送扣机 平扣 两眼四眼扣锁眼打扣机,扣神缝纫机
图片尺寸1920x1080
防打手伺服电脑手动打扣机钉扣合扣工字鸡眼塑料服装钮扣机宝宇
图片尺寸1920x1920
机务兵奋斗的青春:当好一颗"时代的铆钉"_洪奎_赵清钦_战机
图片尺寸499x333
5 kg (主机) , 11 kg (分体供电)体积 (h x w x d):130 x 480 x 380
图片尺寸800x530
5 kg (主机) , 11 kg (分体供电)体积 (h x w x d):130 x 480 x 380
图片尺寸800x530