打标机结构图

激光打标机制造技术
图片尺寸867x1000
一种激光打标机及其自动对焦打标方法
图片尺寸1669x2511
一种全自动大幅面数控打标机-爱企查
图片尺寸800x564
分体式光纤激光打标机
图片尺寸750x500
紫外激光打标机_光纤激光切割机品牌-龙泰
图片尺寸790x587
一种全自动激光打标机
图片尺寸1944x2096
二,斑马zebra 110xi4标签打印机 结构
图片尺寸677x521
金属激光打标机半导体激光打标机上海打标机江浙沪打标机
图片尺寸709x620
一种全自动紫光激光打标机的制作方法
图片尺寸987x1000
激光打标机的种类
图片尺寸839x461
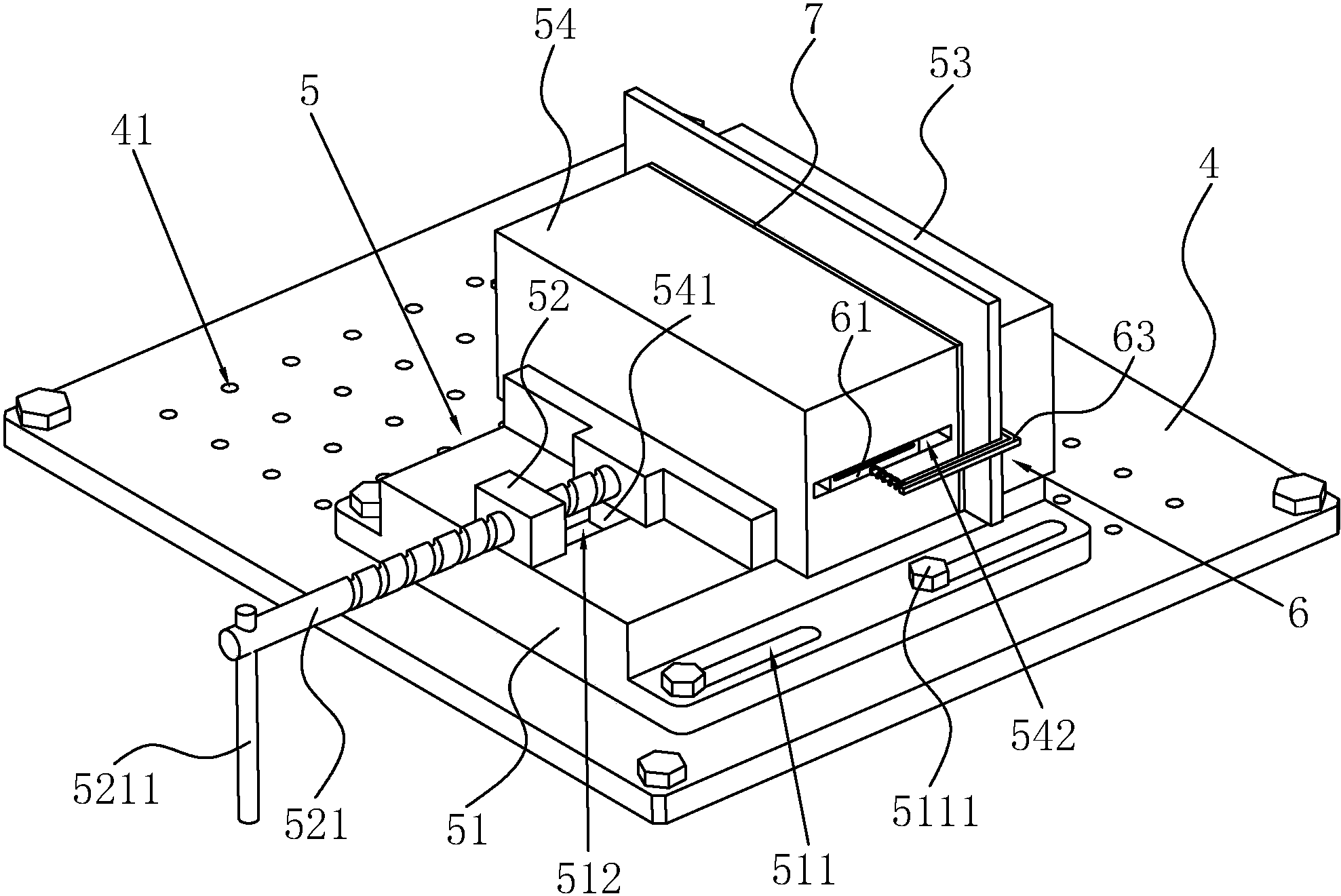
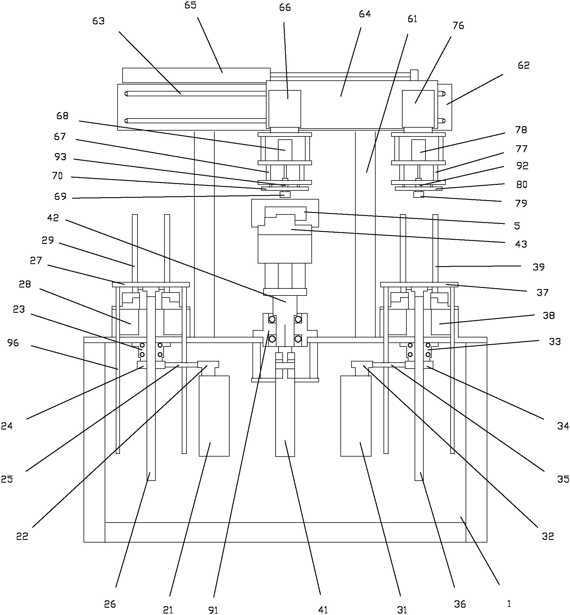
一种视觉定位双头芯片打标机
图片尺寸1221x1206
光纤激光打标机
图片尺寸750x651
包括打标机本体,所述打标机本体上连接有清理结构,所述打标机本体上
图片尺寸446x800
一种激光打标机及其打标方法
图片尺寸1000x778
对原有的激光打标机主体部件进行改造,其结构复杂,改造成本较高的问题
图片尺寸1977x1321
一种钢印打标机的制作方法
图片尺寸286x443
一种基于可控距离指示的打标方法及3d激光打标机
图片尺寸1000x946
一种激光打标机及定位打标方法与流程
图片尺寸805x1000
一种全自动试管打印贴标机的制作方法
图片尺寸937x1000
激光打标机的制作方法
图片尺寸692x1000