打钉机原理图

一种打钉封箱机-爱企查
图片尺寸1544x1555
铆钉机制造技术
图片尺寸830x1000
钉箱机是纸箱的后道加工设备之一,它的原理同普通钉书机的原理一样,只
图片尺寸1000x930
自动制钉机的制作方法
图片尺寸1000x720
一种新型高速制钉机的制作方法
图片尺寸1000x615
纸盒打钉机是纸箱的后道加工设备之一,它的原理同普通钉书机的原理一
图片尺寸368x443
一种自动上料铆钉机-爱企查
图片尺寸783x800
一种便于调节的纸板打钉机
图片尺寸1261x1520
c型钉制钉机
图片尺寸2386x1306
钉箱机是纸箱的后道加工设备之一,它的原理同普通钉书机的原理一样,只
图片尺寸635x1000
8-1.3毫米线径斜排钉的制钉机有效
图片尺寸1766x1623
一种瓦楞纸箱生产用打钉机的制作方法
图片尺寸443x334
背景技术:打钉机是纸箱的后道加工设备之一,原理同普通钉书机的原理
图片尺寸1000x652
气动铆钉机
图片尺寸758x595
一种螺丝机拆钉装备
图片尺寸1892x2264
川岛牌1013j气动码钉枪 木工 家具专用u型钉枪打钉枪 进口品质
图片尺寸750x513
径向铆接机旋铆机结构及工作原理介绍
图片尺寸718x999
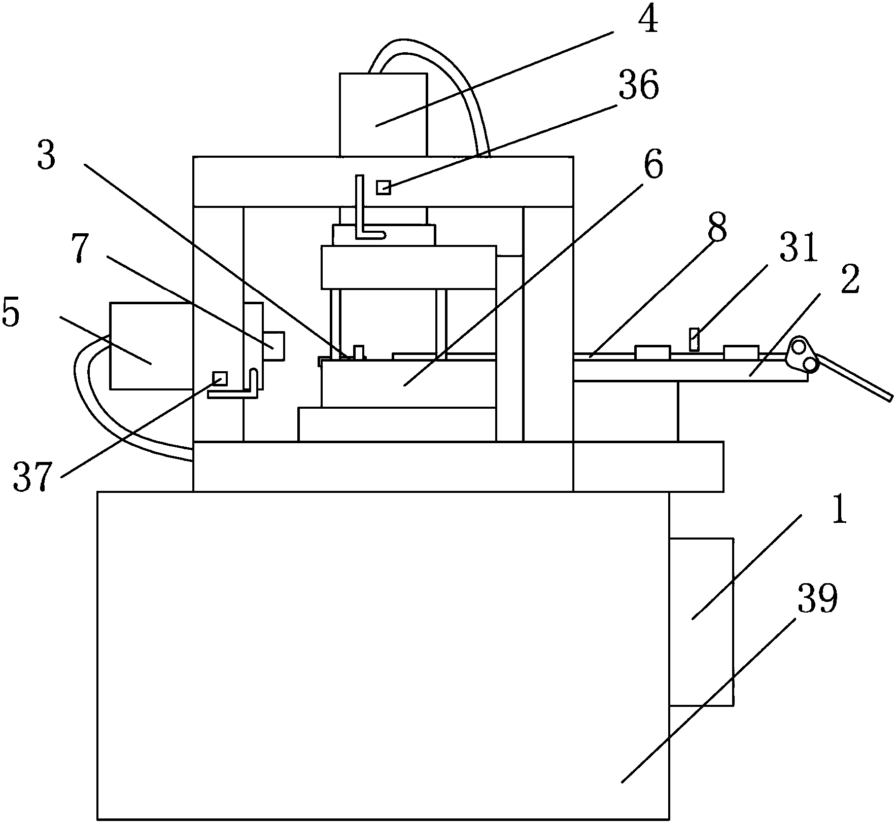
一种纸箱成型钉箱机及制得的环保纸箱
图片尺寸1439x1564
自动送钉机结构
图片尺寸400x300
一种连杆式钉扣机的制作方法
图片尺寸959x1000