扫把的结构

pet毛扫帚簸箕组合不锈钢畚箕笤扫加长扫把套装梳毛簸箕三维工匠
图片尺寸750x886
朋友圈立扫把大赛知道真相的我眼泪笑出来
图片尺寸1080x799
折叠挤水式拖把
图片尺寸1792x2565
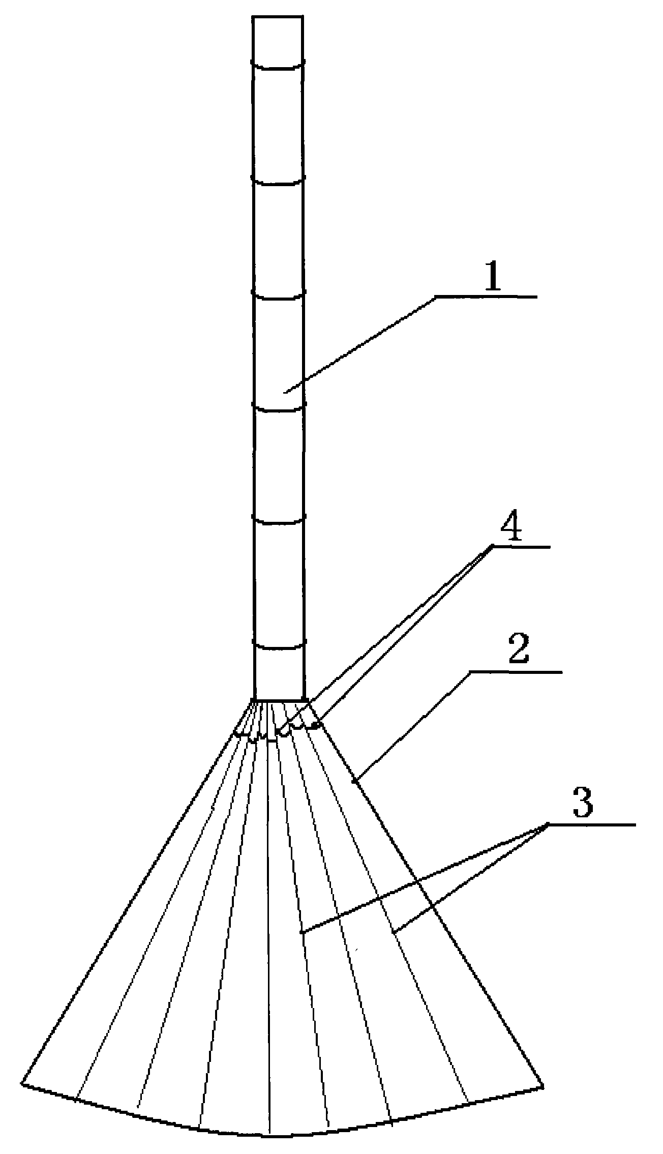
一种容易清理毛发的多功能扫帚
图片尺寸1056x1069
海绵拖把 不锈钢对折胶棉拖把 超强吸水海绵地拖 义乌日用小百货
图片尺寸750x905
供应8003 鬃毛扫把 扫把簸箕套装 扫把塑料
图片尺寸750x888
不锈钢扫把簸箕组合家用软毛扫帚畚箕套装垃圾铲子扫地笤帚扫头发
图片尺寸790x937
多功能扫把的制作方法
图片尺寸915x1000
魔术扫把家用扫地笤帚卫生间浴室刮地板头发清理刮水神器硅胶拖把
图片尺寸750x1000
一种吸尘扫把的制作方法
图片尺寸653x1000
多功能扫把的制作方法
图片尺寸409x1000
一种方便甩干的拖把的制作方法
图片尺寸507x684
了一种方便清扫头发的劳务用扫把,包括握杆,所述握杆的内部为中空结构
图片尺寸1000x920
一种环保型环卫扫把的制作方法
图片尺寸593x1000
芦苇扫帚
图片尺寸1304x2269
该扫把的圆盘形清扫体内设置支撑杆形成网状结构
图片尺寸1166x2392
一种具有改进结构的拖把
图片尺寸1396x2081
扫把的功能性,也为了便于损耗较大的清洁头的更换,通常会通过卡扣结构
图片尺寸574x788
一种多功能拖把的制作方法
图片尺寸939x1000
一种静电除尘扫把的制造方法与工艺
图片尺寸798x1000