扭力保护器结构图

cn201507708u_一种扭矩过载保护装置失效
图片尺寸1786x1085
tgm 扭矩过载保护器
图片尺寸670x500
椿本扭力限制器tsubaki扭矩过载保护器
图片尺寸500x260
tgx 扭矩过载保护器
图片尺寸325x440
扭矩过载保护器北京椿本
图片尺寸325x320
供应comintec零背隙高精密滚珠式扭力限制器,过载保护器
图片尺寸683x564
扭矩过载保护装置(机械式过载保护设备)
图片尺寸504x304
现货供应扭力限制器摩擦式扭力限制器过载保护器安全来电定制
图片尺寸1232x1683
椿本扭矩限制器过载保护器tgk系列代理
图片尺寸669x275
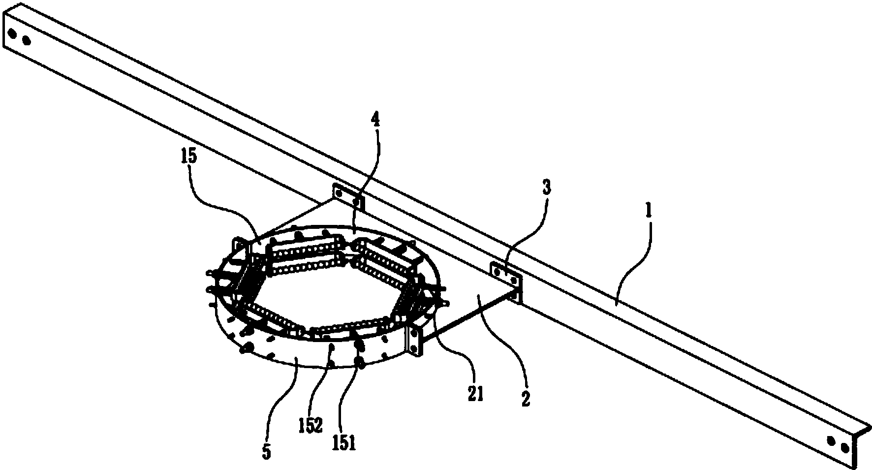
cn207989239u_一种滚动式偏航系统扭缆保护装置有效
图片尺寸1772x955
tl型摩擦式扭矩限制器
图片尺寸604x250
潜油电泵保护器止推轴承段-爱企查
图片尺寸1438x2619
一种摩擦型扭力限制器的制作方法
图片尺寸757x1000
tl型摩擦式扭力扭矩限制器安全离合器过载保护器力矩限制器tl1016轴
图片尺寸800x800
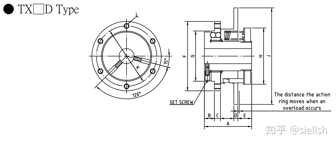
txd扭力限制器扭矩限制器安全离合器电机保护限制器
图片尺寸1421x609
扭力限制器 扭矩限制器 过载保护器 过载限制器 台湾品质
图片尺寸840x291
cn211202669u_一种全自动压力试验机用扭矩限制器有效
图片尺寸1000x633
扭力限制器 扭矩限制器 过载保护器 过载限制器 台湾品质
图片尺寸826x324
过载保护机构 扭力限制器 tl250系列
图片尺寸800x600
扭矩保护夹头ansi标准
图片尺寸319x403