扳手力臂示意图

扳手的杠杆示意图
图片尺寸640x388
为什么在使用开口扳手时禁止用套筒加长扳手的长度
图片尺寸1152x648
汽车文化之:到底马力是什么?
图片尺寸569x445
棘轮扳手是如何工作的,你天天用未必知道?
图片尺寸410x443
求增力扳手结构图
图片尺寸696x589
用杠杆原理解释扳手腕
图片尺寸320x215
力臂的作图
图片尺寸1080x1440
15db4-s日本原装tohnichi东日表盘式直读扭力扳手
图片尺寸1200x739
一种活动扳手力臂装置的制作方法
图片尺寸1000x443
利用杠杆教学指南
图片尺寸579x387
力臂的画法
图片尺寸540x581
扭力扳手常见故障有哪些?
图片尺寸550x220
扭矩扳手检定仪高精度数显扳手拧紧力测试校准仪anbh
图片尺寸979x390
6, 1, 用扳手拧生锈的螺母时,工人师傅常在
图片尺寸1152x864
铅球,扳手,小拖车 二,寻找力臂的方法: (1)找出支点;(无忧文档 所有
图片尺寸704x507
日本原装进口东日tohnichi脱跳式扭力扳手sp38n2x19h
图片尺寸1000x396
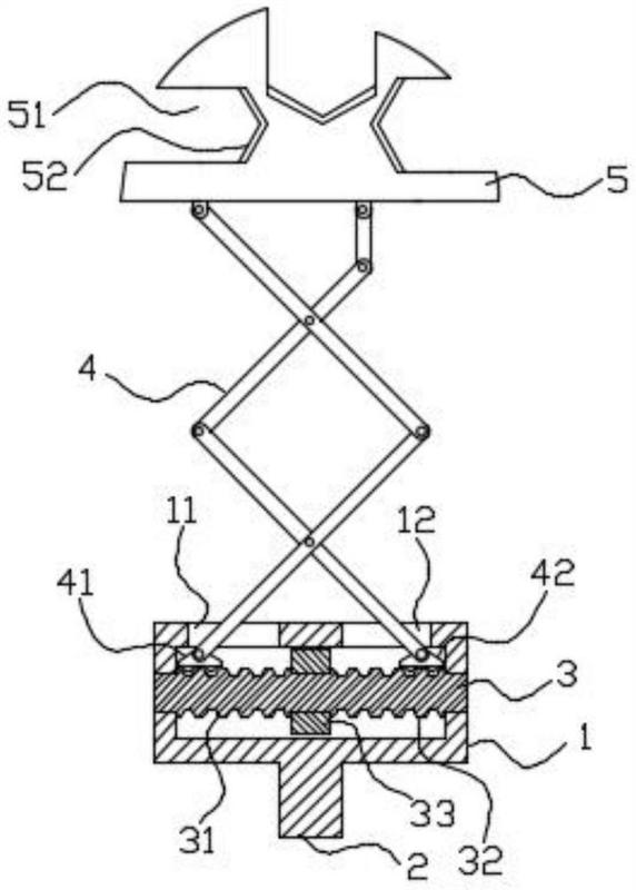
一种剪叉式力臂可调扳手-爱企查
图片尺寸572x800
cn2827645y_一种防扭力回弹的工业省力扳手失效
图片尺寸2000x2192![并作出相应的力臂 [解析]本题主要考查两个知识点: (1)对力臂概念的理](https://i.ecywang.com/upload/1/img1.baidu.com/it/u=2269980616,2224567954&fm=253&fmt=auto&app=138&f=GIF?w=595&h=500)
并作出相应的力臂 [解析]本题主要考查两个知识点: (1)对力臂概念的理
图片尺寸630x529
方程豹 豹5的"扳手门"事件,看完就知道这哥们是真"坏"|底盘|车架|力臂
图片尺寸660x309