扶梯简笔画电动

自动洗衣机素材
图片尺寸366x582
中山手扶梯回收
图片尺寸610x616
电动扶梯,亦称自动扶梯,或自动行人电梯,扶手电梯,电扶梯,是带有循环
图片尺寸598x591
扶梯_鱼爪商标网
图片尺寸443x249
商标logo
图片尺寸1450x715
电动扶梯,现代,矢量,侧面视角,分离着色
图片尺寸1200x1020
电动扶梯简笔画电动扶梯简笔画图片电动扶梯简笔画怎么画
图片尺寸900x600
电梯素材
图片尺寸236x236
奥的斯自动扶梯 | 自动人行道 | 奥的斯中国
图片尺寸555x585
eescalator电梯.轮廓草图图标.
图片尺寸1100x1100
自动扶梯入口探测系统-爱企查
图片尺寸1773x2399
自动扶梯线性图标, 标志, 符号,孤立背景矢量照片
图片尺寸300x300
线框式自动扶梯图纸.透视图
图片尺寸1200x936
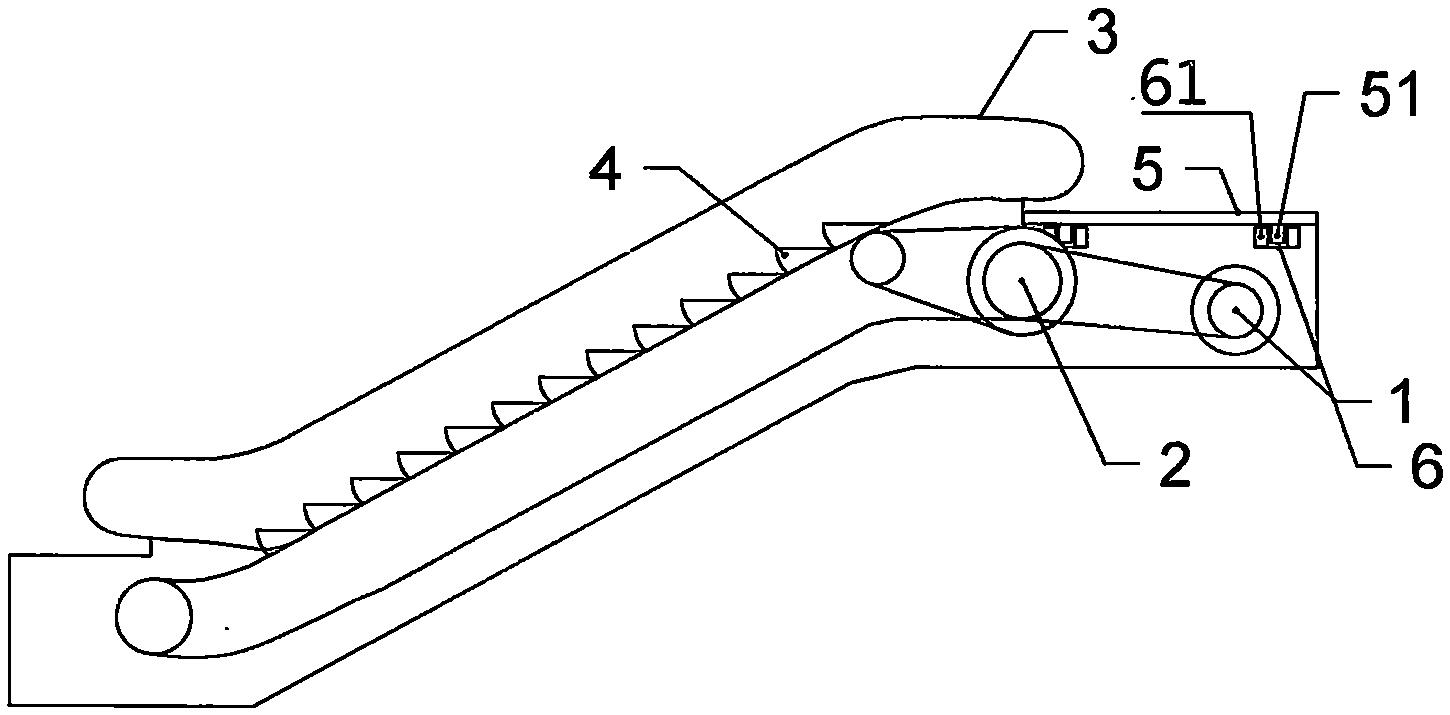
cn211419285u_一种自动扶梯有效
图片尺寸2112x1543
自动扶梯电梯图标设置轮廓风格
图片尺寸1142x1100
双自动扶梯图标轮廓风格
图片尺寸1100x1182
一种便于残障人士乘坐扶手电梯的装置的制作方法
图片尺寸430x444
自动扶梯上的扶手怎么比梯级"跑得快"?_电梯_阶梯_手臂
图片尺寸1080x526
玻璃扶梯图标,轮廓风格
图片尺寸1100x1100
电动扶梯,矢量,图标,黑色,黄色
图片尺寸1100x1100