承重结构设计

既满足设计的房间布置,又应选择合理的墙体承重结构布置方案
图片尺寸514x386
图2-16钢筋混凝土全框架承重结构
图片尺寸797x634
国策视点房屋建筑承重结构对购买因素的影响
图片尺寸625x396
会对考造价员证的人有所帮助 墙承重结构与框架承重结构
图片尺寸1080x810
设计手法分享:承重墙的与梁的弧面包裹.t形承重墙结构在空间中 - 抖音
图片尺寸1252x1841
玉山小学举行教师木结构桥梁承重比赛
图片尺寸2667x2000
结构大赛方案设计书
图片尺寸524x977
木结构桥梁2.5*2.5*550mm松木条中天承重设计制作竞赛装建筑模型
图片尺寸800x800
先上承重结构图
图片尺寸640x448
图2-5屋架承重结构
图片尺寸466x319
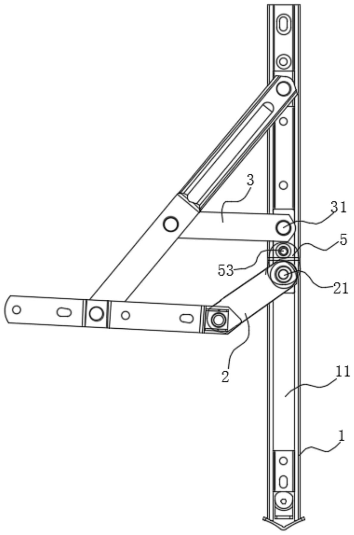
cn112814508a_铰链上下压紧承重结构有效
图片尺寸1189x1794
北京一0一中学高二年级第六届木结构承重比赛——重击区
图片尺寸366x488
承重结构体系
图片尺寸760x430
我校师生参加山东省第三届结构设计大赛载誉归来
图片尺寸640x953
创新有妙招看结构设计大赛上桥梁承重大比拼
图片尺寸1080x720
承重框架
图片尺寸593x483
建筑物按承重结构分类.png
图片尺寸702x531
cn211920560u_一种无机房电梯承重梁结构
图片尺寸1412x1278
国策视点房屋建筑承重结构对购买因素的影响
图片尺寸575x536
我校师生参加山东省第三届结构设计大赛载誉归来
图片尺寸640x953