抑爆装置原理

一种粉尘抑爆系统的制作方法
图片尺寸1000x804
一种气固两相射流主动阻火抑爆装置制造方法及图纸
图片尺寸1000x559
浅谈坦克自动灭火抑爆系统
图片尺寸1530x833
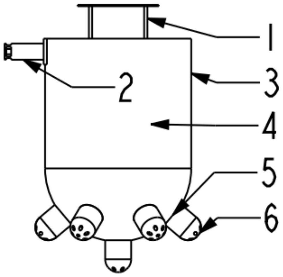
一种工贸行业可燃性粉尘作业场所灭火抑爆装置制造方法及图纸
图片尺寸1000x406
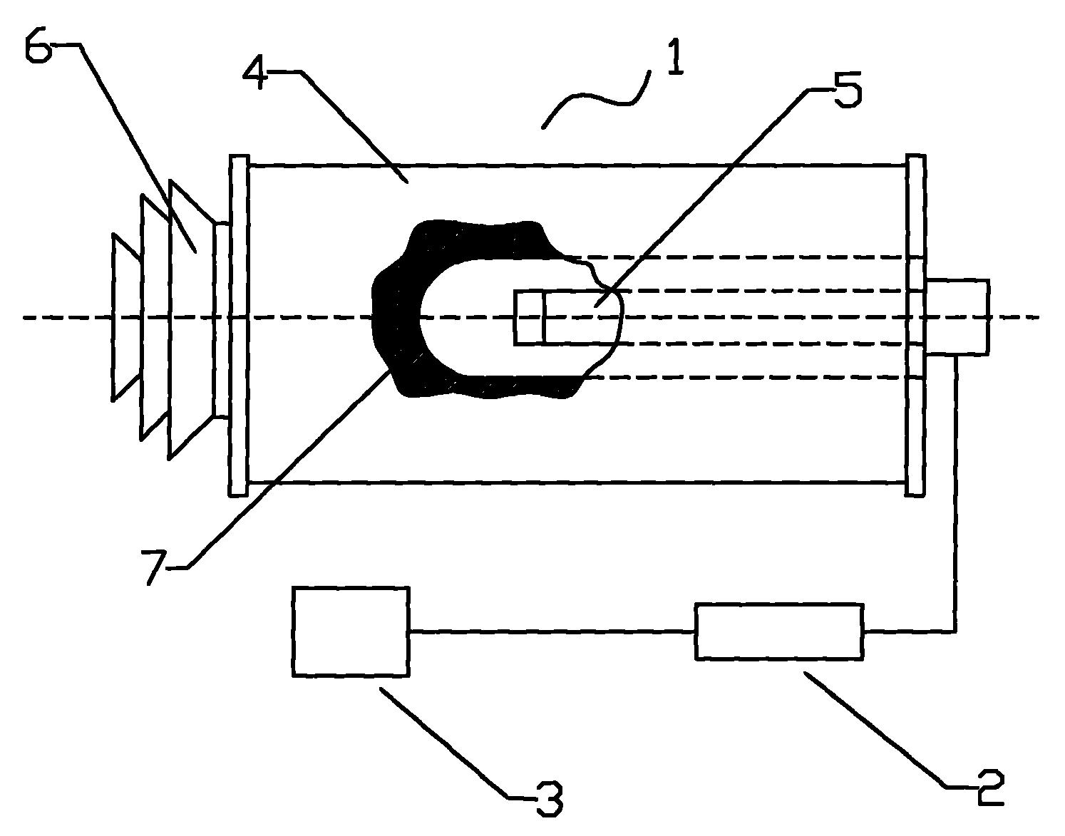
一种气体式主动抑爆装置
图片尺寸1087x806
本技术涉及消防装置技术领域,尤其涉及一种贮压式抑爆器.背景技术:2.
图片尺寸443x396
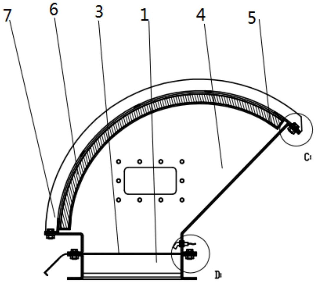
一种多角度,多方面喷射粉尘的自动隔爆装置
图片尺寸1535x2502
矿用自动喷粉抑爆装置-爱企查
图片尺寸1494x1173
风管等是粉尘爆炸的高发区域,泄爆,隔爆,惰化,抑爆,抗爆等都是防范和
图片尺寸640x395
抑爆用感温自启动全氟己酮装置-爱企查
图片尺寸981x961
用于瓦斯输送的超声细水雾抑爆装置制造方法及图纸
图片尺寸1000x624
一种高效可监测的粉尘无焰泄爆装置
图片尺寸1072x962
cn101576521a_可燃性气体,粉尘爆炸,传播及抑爆特性测试装置失效
图片尺寸1843x1480
工业管道集尘系统铝粉二次爆炸抑爆装置制造方法及图纸
图片尺寸1000x607
cn201277056y_储压式气体,粉尘爆炸抑爆装置失效
图片尺寸1380x1980
俄乌战场成坦克坟场?谈一谈"灭火抑爆"系统坦克的最后生存防线
图片尺寸640x515
自动隔爆装置为煤矿领域中首批"四个一批"安全科技成果转化项目
图片尺寸1165x531
干式除尘系统粉尘防爆智能控制抑爆装置的制作方法
图片尺寸1000x823
一种油气田火源探测及抑爆装置的制作方法
图片尺寸703x1000
cn110513138b_煤矿井下采场区域瓦斯煤尘爆炸抑爆装置的联动控制方法
图片尺寸1779x1862