折刀结构图解

这一类的折叠刀主要结构特征包含有:一刀柄,一刀
图片尺寸994x2323
【分享】最全的折刀锁定方式介绍,拿走不谢
图片尺寸600x261
哪位有正品蜘蛛折刀的详细尺寸图呀 想自己diy一个 大概形状是能画
图片尺寸1024x684
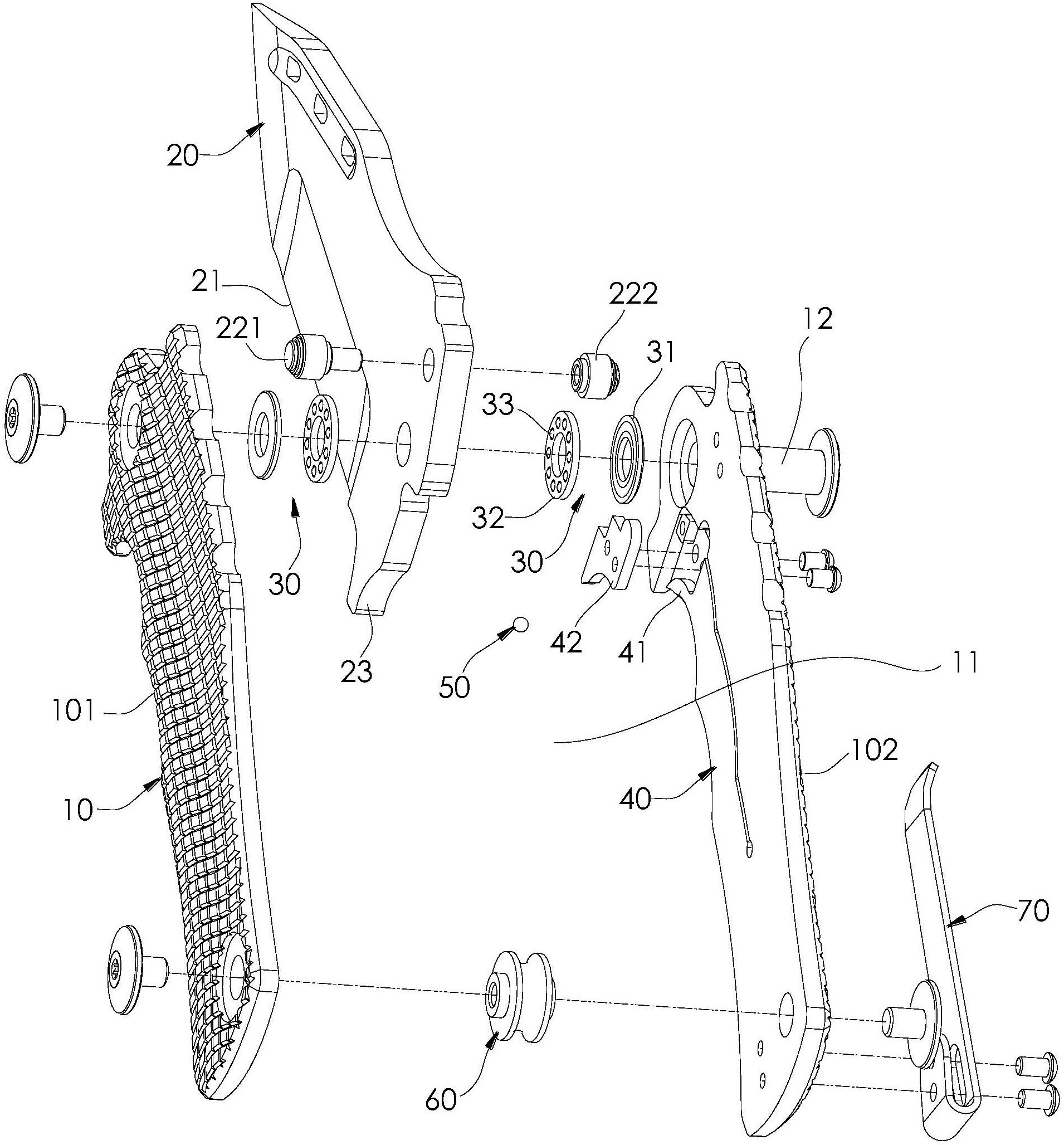
一种具有不同解锁方式的折刀的制作方法
图片尺寸1305x1185
一张图带你了解厨刀构造和各部位名称
图片尺寸746x988
一种锁定折刀
图片尺寸1000x919
锁定牢靠极致轻量,coldsteel冷钢cs28e grik超级背锁edc折刀拆解
图片尺寸1920x1080
你知道刀的各部位构造名称吗|刀的构造 刀的类型比
图片尺寸1777x1280
一种快开折刀制造技术
图片尺寸320x280
折刀的锁定方式目前有背锁,线锁,一体锁,轴锁结构和栓柱锁五种,每种
图片尺寸1000x722
【分享】最全的折刀锁定方式介绍,拿走不谢
图片尺寸600x166
不会切到手的折刀!最坚固的冷钢三合锁技术
图片尺寸640x310
undefined
图片尺寸750x1300
斯巴达harsey户外折刀测评全能的刀锋战士
图片尺寸780x519
cn105922290b_一种快开折刀有效
图片尺寸864x1000
一种具有止位结构的折刀-爱企查
图片尺寸1910x2055
这款神器深受"驴友"偏爱,看看它有什么特别之处
图片尺寸750x1040
部分折刀拆解照片
图片尺寸1500x2000
部分折刀拆解照片
图片尺寸1500x2000
emerson 艾默生 kershaw emerson 卡秀艾默生 折刀拆解对比
图片尺寸4032x3024