折叠纱门维修图解

折叠金刚网纱门,不占空间,推拉顺畅,即防蚊虫鼠,又可安全防护 - 抖音
图片尺寸1080x1440
风琴艺术折叠纱窗纱门的换线维修
图片尺寸579x800
一种防虫防苍蝇折叠式塑料纱门的制作方法
图片尺寸807x1000
高清折叠金刚网纱门双钩一体锁强宁门
图片尺寸1080x1920
cn202325185u_易安装折叠纱窗/纱门有效
图片尺寸800x983
定做无轨隐形折叠纱门定做纱窗铝合金风琴式推拉伸缩防蚊纱可拆洗
图片尺寸1080x722
无轨折叠纱门
图片尺寸1080x2280
推拉式防蚊防虫防宠物可定制平网防盗折叠纱门 赠送双钩锁 终身维修
图片尺寸800x800
润临鹤推拉式隐形纱门防蚊虫防雾霾纱窗折叠加密网铝合金伸缩通风沙门
图片尺寸750x810
潍坊市上门安装折叠纱门.#封阳台换窗户 #系统门窗 #施工现 - 抖音
图片尺寸1440x2558
平网折叠纱门.
图片尺寸790x1200
一种可拆洗折叠双开纱窗纱门的制作方法
图片尺寸1000x856
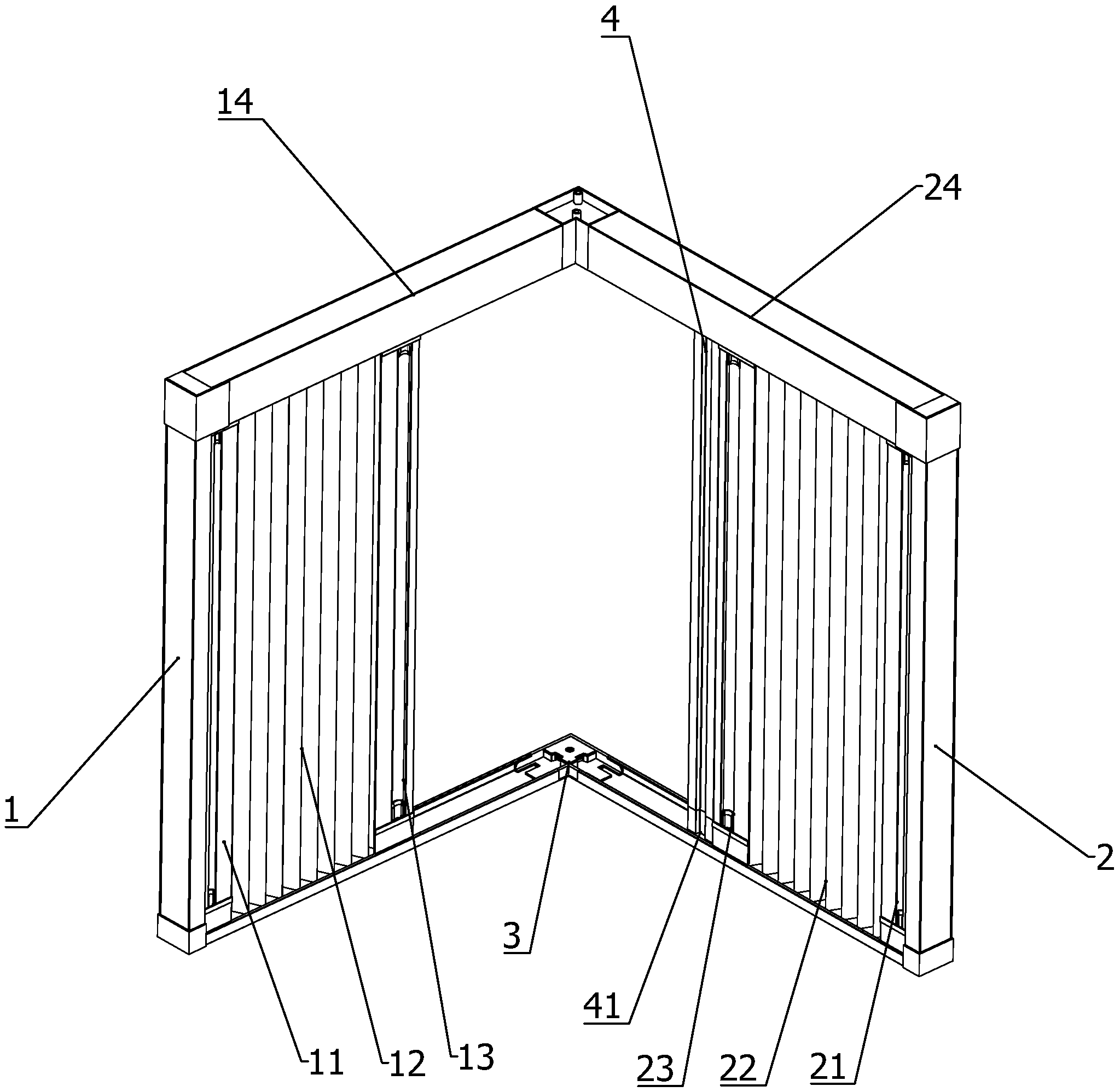
一种可拆洗折叠90拐角拼接纱窗纱门
图片尺寸2047x1996
金钢网折叠纱门 防蚊虫 防老鼠 防宠物 全国发货 包运费� - 抖音
图片尺寸720x1600
金刚网高清纱铝合金隐形折叠纱门
图片尺寸1080x1080
折叠式金刚网隐形纱门 - 广东创明遮阳科技有限公司
图片尺寸800x1319
折叠纱门好不好用?
图片尺寸680x1051
金隐折叠纱门-安达人建材商城
图片尺寸1280x1706
金刚网平开纱窗纱门 高清防护折叠隐形纱窗门 厂家上门安装维修 - 爱
图片尺寸750x1072
隐形纱门维修换网换线折叠纱窗纱门防蚊 熟食餐车更换半成品纱网
图片尺寸800x800