折边器安装图

折边机构,挡边组件包括挡块支架,侧边挡块和上挡块,挡块支架安装在
图片尺寸2229x1389
带风管折边机的设计与实现
图片尺寸924x728
产品包布折边装置,包括工作台,工作台上安装有用于固定异形产品的治具
图片尺寸800x608
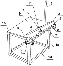
扶手折边工装
图片尺寸583x313
简易金属板折边工装-爱企查
图片尺寸238x250
装拉链神器上拉链快装折边包边筒专用撸子龙头拉筒缝纫机配件大全
图片尺寸800x800
平车单折卷边筒 大宇226拉脚筒 单层折边卷边拉筒 下摆毛边卷边器
图片尺寸800x800
二合一多功能小型手动折边机折弯机不锈钢铁皮板圆钢筋手动折弯机 210
图片尺寸990x990
大宇226单卷拉筒 平车单折卷边筒单层折边卷边拉筒下摆毛边卷边器
图片尺寸800x800
平车免烫下折边拉筒压脚新款可调 装门襟贴龟背弧线拼接缝卷边器
图片尺寸800x800
平车免烫下折边压脚电脑平缝机装门襟拉链单折边压脚散口卷边拉筒
图片尺寸800x800
平车免烫下折边压脚平缝机装门襟拉链单折边压脚散口卷边拉筒
图片尺寸800x800
双层合缝神器窗帘接布被套对齐拼缝筒撸子缝纫机配件 上下折边合缝筒
图片尺寸800x800
厂家直销 吉祥铝塑板3mm10丝铝塑板 内外墙粘贴 广告幕墙专用板
图片尺寸960x1280
开槽 拼接 折边 固定 安装,铝塑板门头全套工艺_网易订阅
图片尺寸660x399
铁丝不锈钢丝折弯机小型折弯工具折弯器扳弯机弯曲器折边机
图片尺寸800x900
一种织机机械折边防撞装置的制作方法
图片尺寸443x432
平车免烫下折边压脚电脑平缝机装门襟拉链散口卷边拉筒单折边压脚
图片尺寸800x800
开槽拼接折边固定安装铝塑板门头全套工艺
图片尺寸660x284
卷边压脚皮工业缝纫机折边钢制电脑平车床单卷下摆袖口套装4个装
图片尺寸1240x1240