折页机图解

cn102040119a_折纸机和折纸方法失效
图片尺寸2648x1665
ze-9b2栅栏式自动分页折纸机 台式纸张折页机 十字折压痕折页机
图片尺寸500x202
折弯机操作步骤,有图有真相!
图片尺寸883x541
纸张十字自动折纸机商品描述视频展示类型栅栏式折页机包装纸箱品牌
图片尺寸750x1000
二手折页机直销进口原装二手印后加工设备折书机
图片尺寸653x645
折纸机多功能高速进纸折页触屏打折纸机说明书折页机
图片尺寸750x414
联腾自动折纸机折页机小型折痕机折叠机折说明书折纸机全自动装定机订
图片尺寸790x965
百折页折纸3d书机关
图片尺寸500x579
折页机自动宝预说明书折纸纸机折叠机高速ze折痕装订机
图片尺寸800x800
折纸机原理结构设计图
图片尺寸358x314
自动混合式电控刀折页机研究与开发
图片尺寸450x381
宝克重型订书机st1150可订100页 1160可订200页订书机厚层订书器
图片尺寸790x788
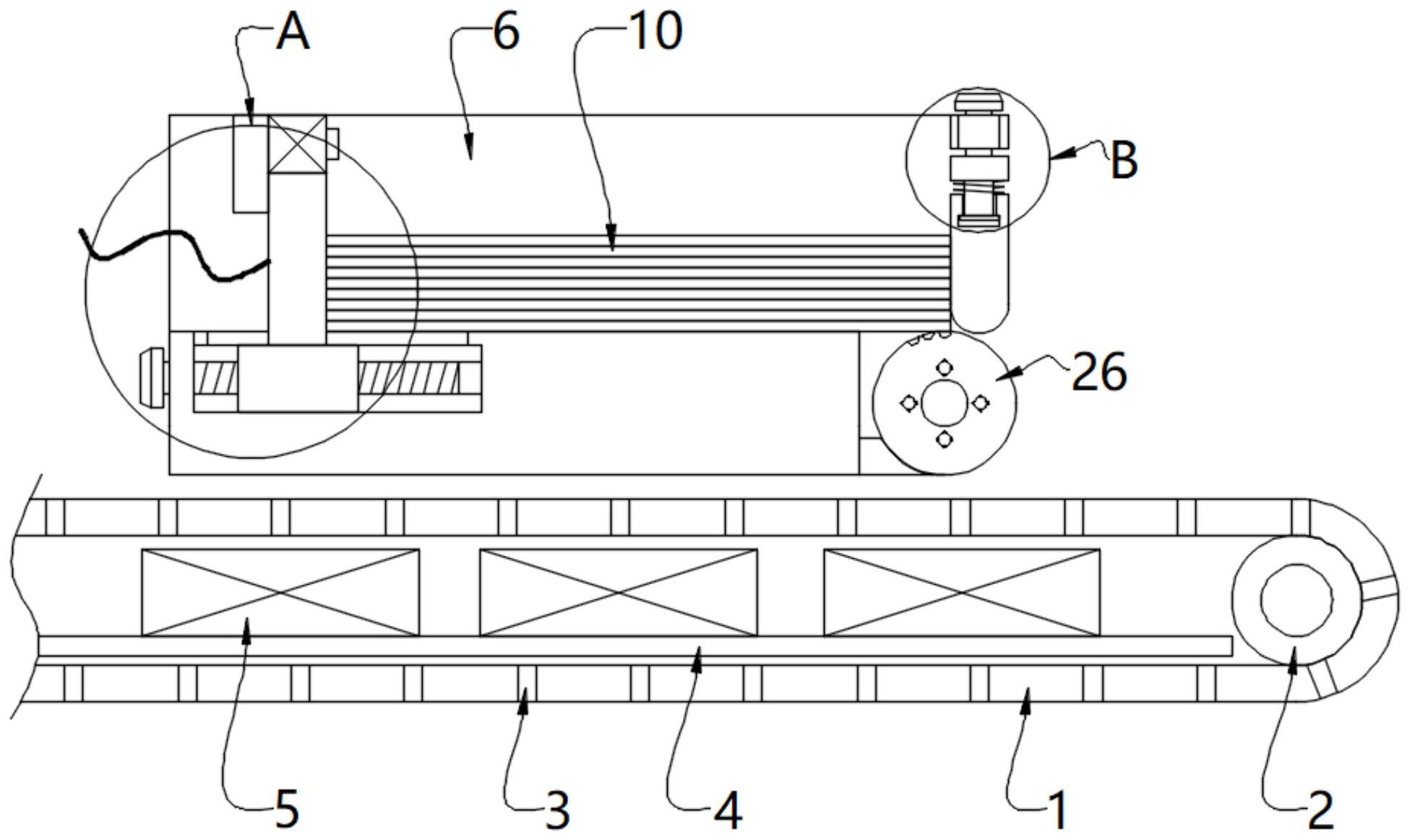
一种微摩擦间隔式膜片分页机-爱企查
图片尺寸1951x1162
百折页折纸3d书机关
图片尺寸688x500
供应ze9b4纸张折叠机自动纸张折叠机说明书折页机东莞
图片尺寸1920x1440
360t4k 6开四梳 栅栏式大型折页机折纸机 飞达走纸折纸机|新磊鑫滤芯
图片尺寸500x575
一种混合式折页机
图片尺寸1000x556
得力0393 210页特重厚层订书机 订书器 重型钉书机 (23/6 23/25)
图片尺寸750x2337
一种混合折页机的制作方法
图片尺寸1000x703
摺纸机 说明书摺纸机
图片尺寸698x464