护具 简笔画

体育用品简笔画护手套怎么画
图片尺寸720x480
护膝简笔画步骤图解教程及图片大全
图片尺寸480x320
手套,防护,消防员,线条,矢量,插画_高清图片_全景视觉
图片尺寸670x670
一种散打用胸部护具-爱企查
图片尺寸725x799
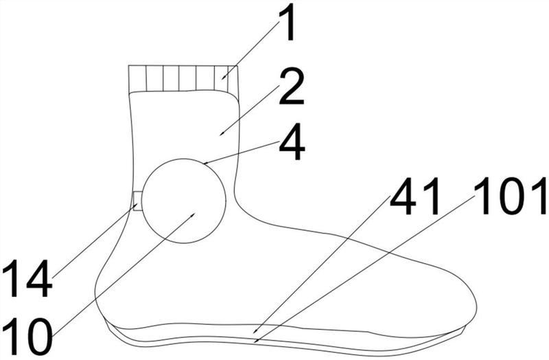
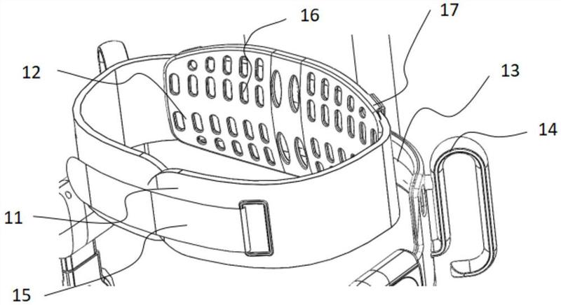
一种具备受击信息收集的护具套装的制作方法
图片尺寸990x1000
护士帽孤立
图片尺寸1200x801
运动护膝简笔画图片大全简单易画
图片尺寸900x600
体育用品简笔画护手套怎么画
图片尺寸720x480
护具
图片尺寸1095x1276
脚踝护具
图片尺寸979x1728
一种腰部外骨骼护具-爱企查
图片尺寸800x436
脚踝护具
图片尺寸869x1542
护膝涂鸦
图片尺寸1100x1100
一种充气式膝盖护具的制作方法
图片尺寸911x1000
脚踝护具
图片尺寸821x1551
冰球护具简笔画
图片尺寸900x600
一种刺杀训练用护具-爱企查
图片尺寸561x800
一种训练作战两用护具
图片尺寸1587x2179
一种石墨烯发热护具-爱企查
图片尺寸800x524
护士帽简笔画怎么画
图片尺寸450x306