护膝简笔画彩色

护膝图片大全
图片尺寸300x300
防护用具护膝插画
图片尺寸650x651
运动护膝简笔画图片大全 简单易画
图片尺寸900x600
运动护膝简笔画图片大全 简单易画
图片尺寸900x600
可爱笑脸运动护膝简笔画
图片尺寸900x600
护膝涂鸦
图片尺寸1100x1100
运动护膝简笔画图片大全 简单易画
图片尺寸900x600
运动护膝简笔画
图片尺寸900x600
运动图片大全_简笔画图片大全
图片尺寸200x134
运动护膝简笔画图片大全 简单易画
图片尺寸900x600
运动护膝简笔画图片大全 简单易画
图片尺寸900x600
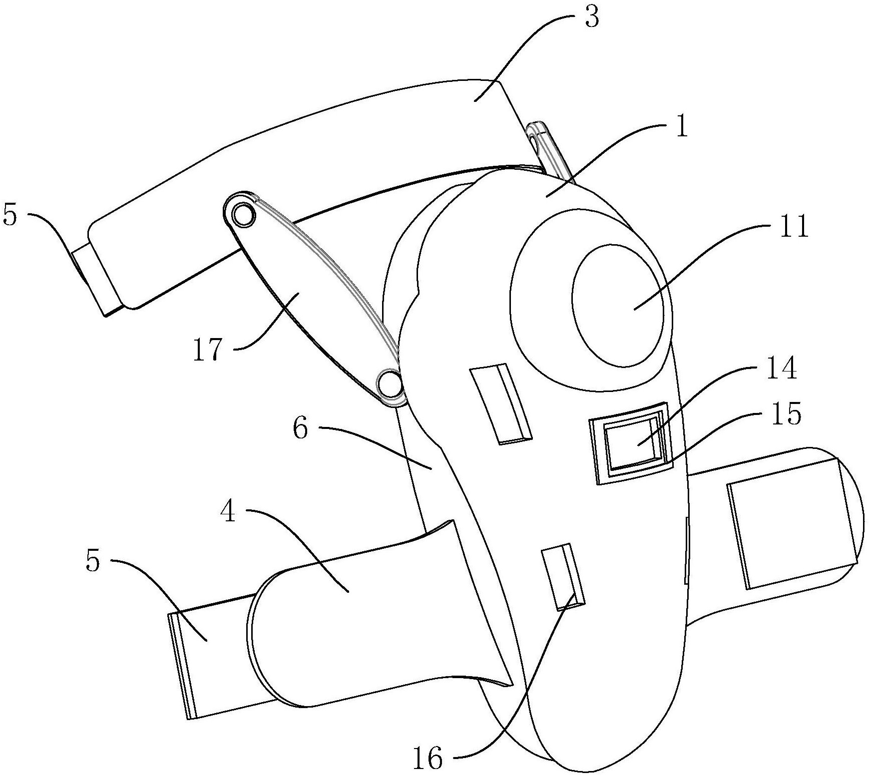
一种护膝-爱企查
图片尺寸1711x2407
一种护膝-爱企查
图片尺寸1742x1554
技术领域,尤其为一种膝盖关节保暖防撞击装置,包括护膝本体和缓冲机构
图片尺寸1505x1472
一种保暖护膝-爱企查
图片尺寸796x800
理疗床垫填充专用远红外陶瓷球 净水用深红色远红外球-阿里巴巴
图片尺寸1920x1920
8. 实用新型一种蹲跪护膝授权我要购买申请号:cn201821962850.
图片尺寸363x444
腿部护具,包括:防护底层,其设有连接面;上护壳,其与连接面连接;护膝壳
图片尺寸593x800
想跑步锻炼又怕伤膝盖?专家告诉你护膝方法
图片尺寸523x747
京东触屏版
图片尺寸750x500