抱枕设计图纸素描

手绘单体抱枕
图片尺寸1292x889
室内单体表现|手绘单体抱枕
图片尺寸1280x810
超舒适的抱枕手绘过程分享来了
图片尺寸844x601
室内抱枕画法详解
图片尺寸3508x2192
谁都可画好的抱枕系列干货分享
图片尺寸1080x1439
抱枕线稿
图片尺寸1080x1022
【手绘单体】来个抱枕抱抱吧7815
图片尺寸1080x1439
室内设计 #专升本 #马克笔 #抱枕 #画画的日常 #室内设计马克
图片尺寸1080x1439
抱枕设计
图片尺寸1439x1080
抱枕插画_抱枕手绘插画设计网
图片尺寸800x737
适用于汽车抱枕被子两用车内保时捷车载后排奔驰宝马睡觉车载折叠
图片尺寸800x800
枕头素描艺术枕头孤立的白色枕头
图片尺寸1100x1100
室内小品手绘抱枕篇
图片尺寸960x720
耗时六天,手绘抱枕图,完工.
图片尺寸1536x2048
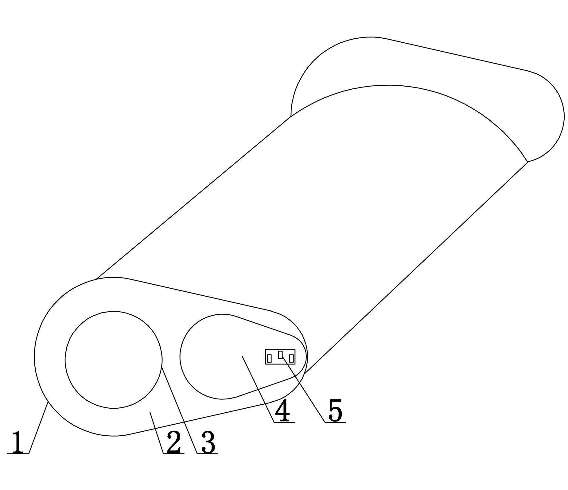
一种带保温功能的抱枕-爱企查
图片尺寸1850x1596
一种婴儿防抓脸抱枕的制作方法
图片尺寸784x1000
20190512_195713室内手绘单体家具小品抱枕练习临摹
图片尺寸2888x1810
抱枕插画_抱枕手绘插画设计网
图片尺寸800x800
这款的最大亮点在于它的蝶翼设计,不仅加大枕头接触面积,并且能更好的
图片尺寸642x364
向阳素描动漫抱枕 由乃周边等身抱枕 2wt长靠枕方枕 来图定制礼物
图片尺寸900x900