抹泥刀简笔画

抹刀图标在轮廓风格孤立的白色背景.建立和修复符号库存矢量插图.
图片尺寸1100x1100
园艺泥刀简笔画
图片尺寸600x470
黑白卡通抹刀
图片尺寸1200x944
抹泥刀
图片尺寸1200x626
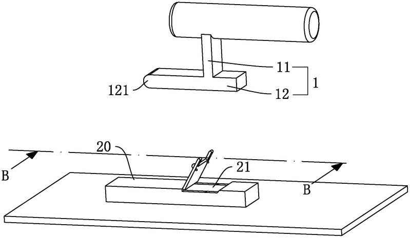
一种建筑用抹泥刀的制作方法
图片尺寸678x494
简单图像建筑抹刀摊铺砂浆工作工具制造设备石膏粉灰泥图标在圆形圆形
图片尺寸1024x1024
厨房刀的简笔画
图片尺寸600x470
抹刀填色图片厨房用品简笔画抹刀图片平板填色图片海绵填色图片最新
图片尺寸600x470
一种抹泥刀-爱企查
图片尺寸799x465
亲子画美工刀简笔画
图片尺寸900x600
一种抹泥刀的制作方法
图片尺寸879x1000
一种带有锯齿形条的抹泥刀制造技术
图片尺寸1000x367
一种建工抹泥刀的制作方法
图片尺寸1000x671
简单的抹刀线图标
图片尺寸1100x1100
泥刀
图片尺寸677x1200
主要作用就是对墙体表面抹水泥使用的,目前的抹泥刀结构较为简
图片尺寸781x425
预制墙体拼缝凹槽抹泥刀-爱企查
图片尺寸774x800
刀简笔画
图片尺寸900x600
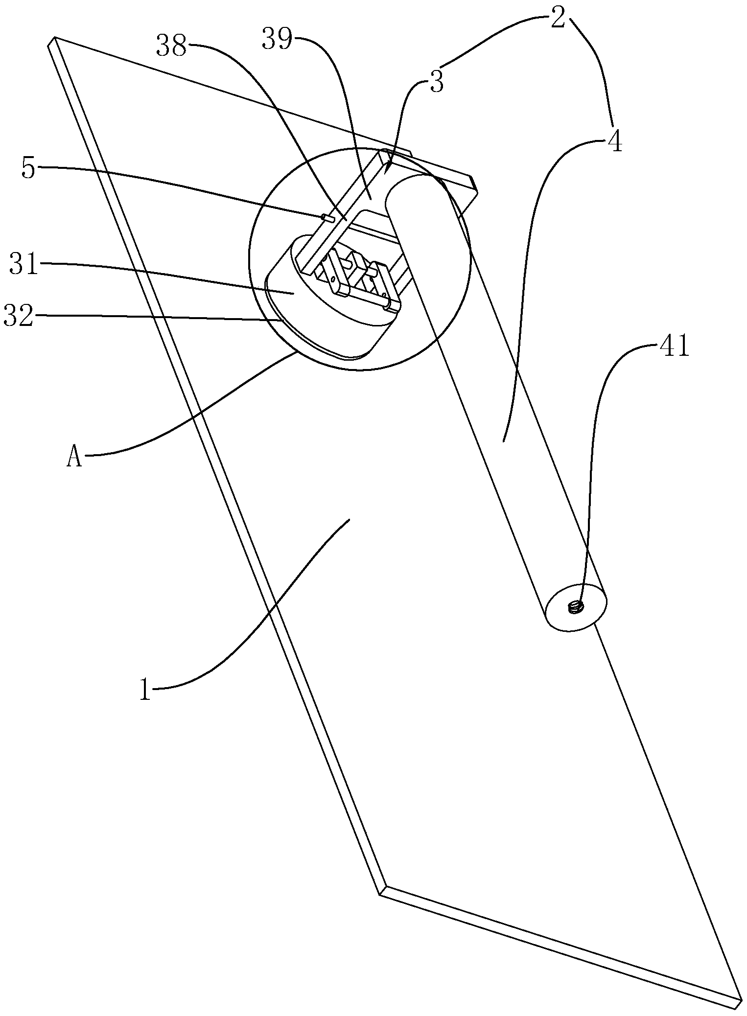
一种装修用抹泥刀
图片尺寸1526x2076
cn103669810a_一种抹泥刀失效
图片尺寸514x466