抽沙泵原理结构图

108sgh108sgh砂砾泵采砂船抽沙泵疏浚河道渣浆泵
图片尺寸633x495
搅拌型耐磨立式抽沙泵,液下抽砂泵
图片尺寸535x607
潜水抽沙泵采金河道清淤挖煤泵强制搅拌泥浆泵100zjq65-38-30
图片尺寸750x630
耐磨深水吸砂泵 高耐磨抽沙泵 潜水排砂泵
图片尺寸750x751
临龙泵业nyl抽沙泵结构图
图片尺寸560x730
多型号多用途pns系列泥浆泵 抽沙泵 排污泵300pns-a78船陆两用
图片尺寸650x822
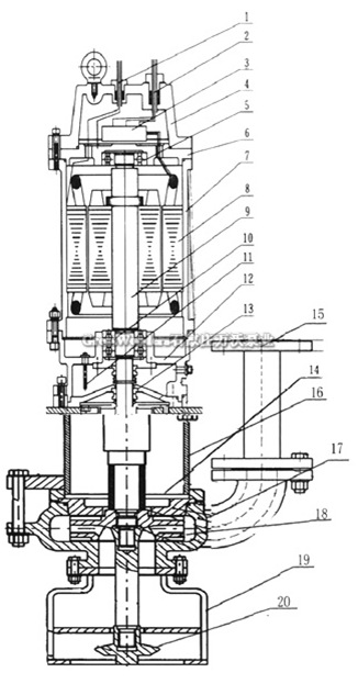
矿用排沙排污潜水泵 nsq抽尾砂泵结构图
图片尺寸326x623
16/14tu-gh抽沙泵抽砂泵 抽沙船 耐磨吸砂沙泵结构图
图片尺寸610x508
德州《抽沙泵》10/8s-g砂砾泵操作规程
图片尺寸492x650
昊博牌细砂回收渣浆泵 4/3c-ah(r)大口径抽沙泵 ah型卧式离心泵
图片尺寸1920x1000
立式抽沙泵于池塘清淤吹填作业的简易抽沙泵
图片尺寸1000x567
耐磨抽沙泵卧式抽沙泵流量大运行稳定
图片尺寸800x402
抽沙泵 采砂泵矿浆泵 zjq型自动搅拌潜水渣浆泵|泥沙泵/灰沙泵结构
图片尺寸501x624
朴厚泵业,潜水排污泵,80qw43-13-3潜水抽沙泵
图片尺寸657x551
gmz系列多用途抽沙泵结构图
图片尺寸462x274
双吸泵厂家热销 sh型中开式双吸泵 卧式抽沙泵 河道泥浆泵
图片尺寸750x433
专业生产厂家生产4pn泥浆泵 6pn泥浆泵 抽沙泵杂质泵渣浆泵
图片尺寸789x535
史上最全常用泵的典型结构图
图片尺寸700x592
呼兰200zj-a60船用抽沙泵排沙泵
图片尺寸650x364
史上最全常用泵的典型结构图
图片尺寸700x490