抽油杆结构

空心抽油杆注入热载体采油装置结构
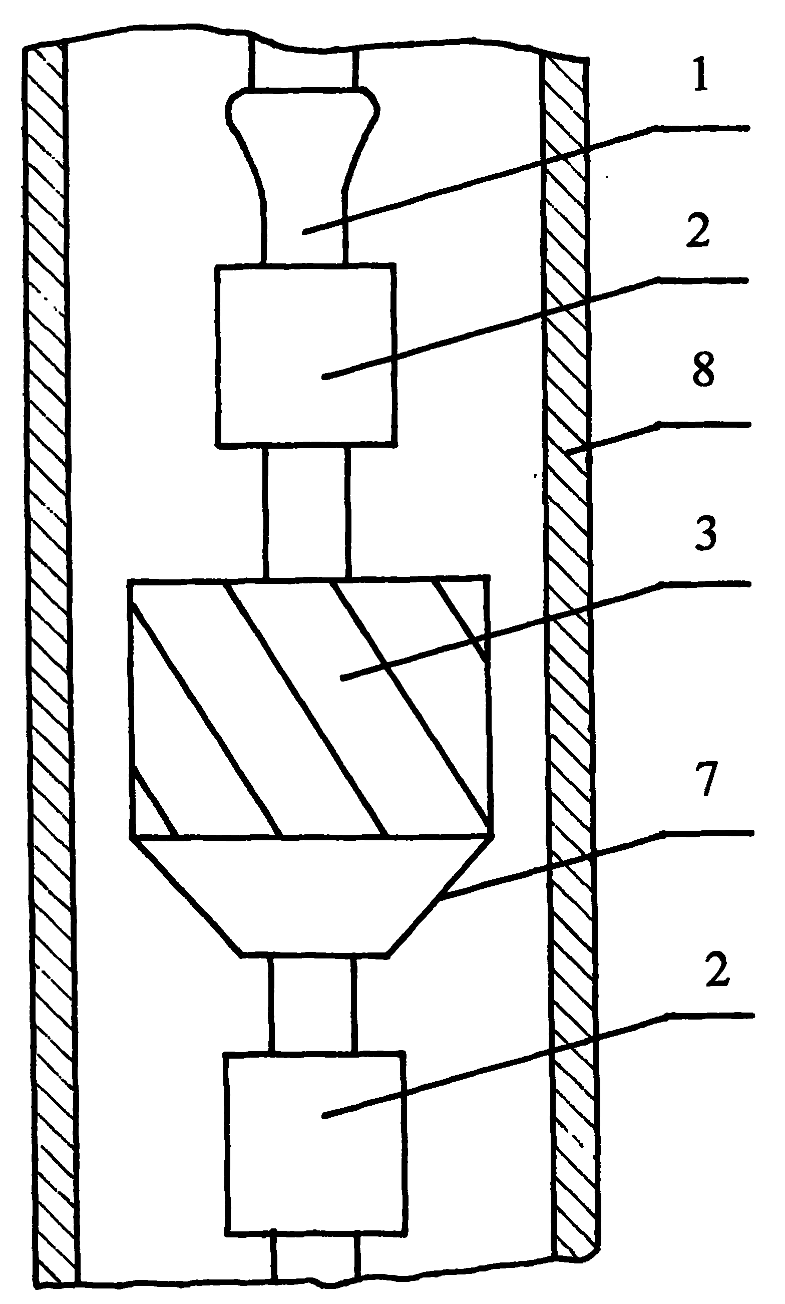
图片尺寸272x350
石油井下空心抽油杆电加热采油装置
图片尺寸640x659
碳纤维抽油杆
图片尺寸667x416
热管式空心抽油杆
图片尺寸493x546
01)i 发明名称 一种改性尼龙包覆的防腐抽油杆杆头及生产装置 发明人
图片尺寸465x212
抽油杆的形状有圆形和扁形,目前扁形用的更多一些:该种结构产品对于碳
图片尺寸415x224
一种新型空心抽油杆的制作方法
图片尺寸461x324
抽油机有哪些结构? 2.如何让抽油机上下运动?
图片尺寸640x540
一种带有连接结构的电镀镍钴抽油杆的制作方法
图片尺寸828x454
一种双空心抽油杆及其制造方法与流程
图片尺寸1000x453
直连肩锥面防脱抽油杆制造技术
图片尺寸800x252
cn201546637u_强磁防蜡防磨抽油杆失效
图片尺寸1568x2604
cn106194060b_一种碳纤维连续抽油杆作业车有效
图片尺寸1684x716
1 带压起下抽油杆作业装置总体结构
图片尺寸886x401
空心抽油杆多少钱一米
图片尺寸209x350
防脱抽油杆
图片尺寸1780x642
抽油杆行业标准--尺寸ppt
图片尺寸1080x810
运动比较缓慢的物体用加速度测位移能准吗
图片尺寸368x275
关于各类新型抽油机知识介绍 1,结构特点 由四连杆机 构实现运动 的
图片尺寸1080x810
基于gmelm的有杆泵抽油井故障诊断
图片尺寸700x675