抽风机简笔画

风机机设计孤立通风机图标
图片尺寸913x1200
涡轮风机隔离图标
图片尺寸1100x1140
抽风机,象征,风格,隔绝,白色背景,背景_高清图片_全景视觉
图片尺寸670x670
风机线轮廓图标及风机设备
图片尺寸1100x1100
抽风机简笔画
图片尺寸500x548
通风机图标轮廓风格
图片尺寸1100x1100
风机(44)
图片尺寸596x825
生活厨房物品鼓风机手绘创意矢量
图片尺寸610x610
立式风机独立线条样式图标
图片尺寸1100x1100
一种空气净化用的高效抽风结构
图片尺寸1137x1242
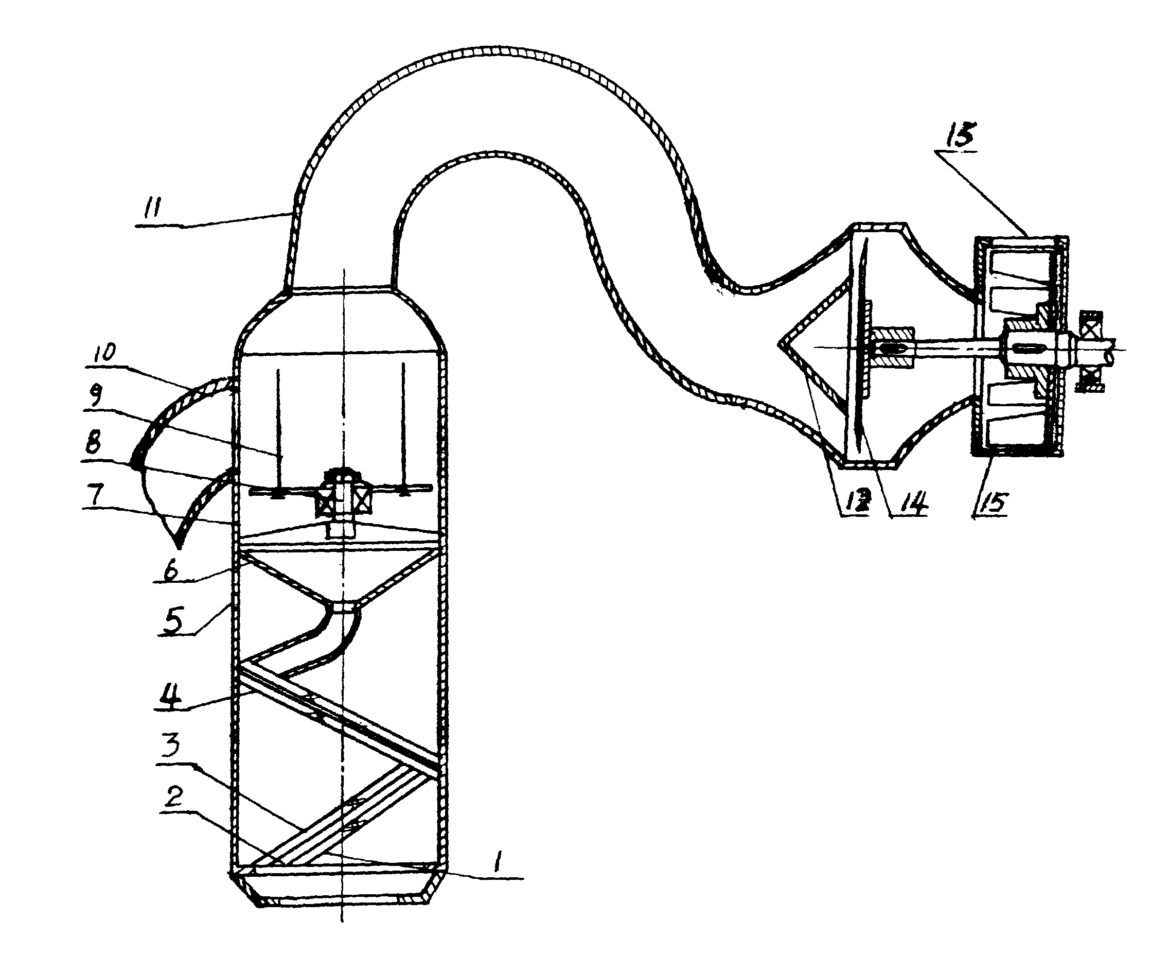
一种离心抽风机的制作方法
图片尺寸1000x946
便厕抽风机
图片尺寸840x1007
cn301626601s_轴流鼓风机有效
图片尺寸1037x1017
鼓风机简笔画儿童
图片尺寸500x652
本外观设计产品的用途:抽风机.3.本外观设计产品的设计要点:在于形状.
图片尺寸1246x1136
cn203175943u_风机有效
图片尺寸651x594
本实用新型涉及抽风机技术领域,具体涉及一种太阳能风机.
图片尺寸1679x1598
抽风机风轮-爱企查
图片尺寸260x210
抽风式扬场机
图片尺寸2272x1888
冷风机
图片尺寸1212x945