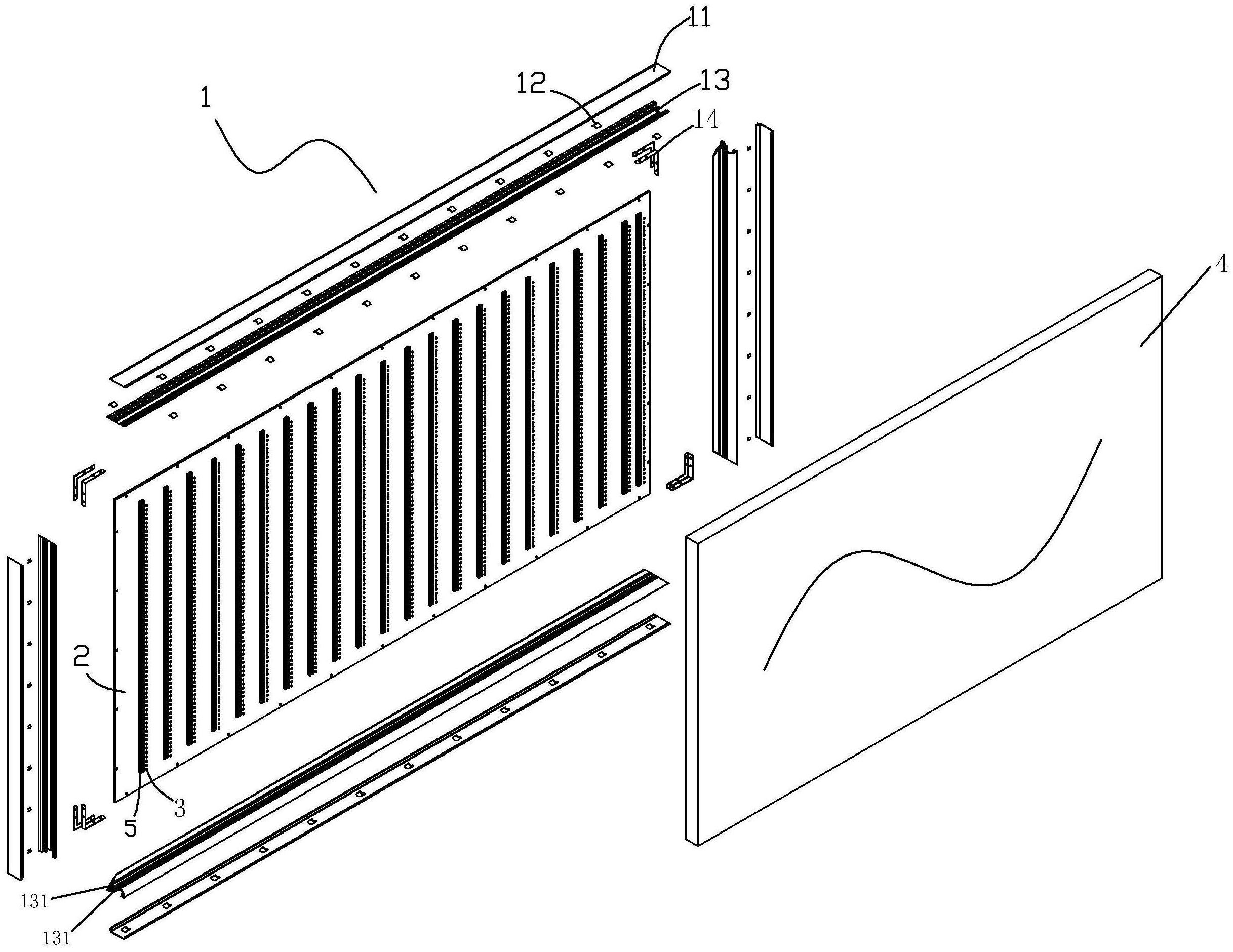
拉布灯箱结构

户外大型防水拉布灯箱(120*100) 停车场灯箱,机场拉布灯箱铝型材
图片尺寸1357x1920
拉布灯箱吸塑招牌灯箱户外定做吸塑灯箱双面led电子灯箱
图片尺寸750x1298
盛大广告有限公司拉布灯箱的使用范围和特点优点
图片尺寸784x428
全新升级款正面开盖拉布灯箱铝型材,内部结构圆弧型设计,外观升级
图片尺寸750x1040
led超薄铝合金灯箱铝型材厂家直销拉布灯箱铝型材及各种广告.
图片尺寸790x1092
铝型材灯箱银行拉布灯箱
图片尺寸750x510
卡布灯箱挂墙式广告牌户外门头招牌手机led灯uv软膜拉布灯箱订做
图片尺寸790x1397
一种拉布灯箱-爱企查
图片尺寸2435x1880
【新品上市】汇百美新款拉布灯箱
图片尺寸750x1129
【供应】高品质eef拉布灯箱布eefl灯箱布批发
图片尺寸477x598
超薄灯箱 铝合金开启式led室内单面灯箱 定做卡布拉布灯箱
图片尺寸800x438
拉布门楣灯箱-爱企查
图片尺寸1779x1380
拉布灯箱结构图片
图片尺寸1024x722
软膜卡布灯箱结构示意图
图片尺寸790x337
户外拉布灯箱广告牌制作门头灯箱铝材大型工程led灯
图片尺寸750x450
户外工程拉布灯箱铝型材加强壁厚广告铝合金灯箱边框私模无同款
图片尺寸750x882
uv软膜卡布灯箱天花喷绘卡布灯箱铝型材广告牌型材灯箱背景墙定制
图片尺寸790x512
6080公分拉布灯箱
图片尺寸850x637
卡布灯箱型材uv软膜灯箱铝合金边框h码型材包柱拉布双面超薄广告
图片尺寸790x1000
软膜灯箱安装结构图
图片尺寸800x545