拉床简笔画

拉床图片-拉床素材-拉床插画-摄图新视界
图片尺寸300x300
一种立式上拉式外拉床的制作方法
图片尺寸607x1000
一种拉刀下推式筒式拉床
图片尺寸988x1000
帮妈妈铺床简笔画
图片尺寸500x333
cn2327482y_内拉床失效
图片尺寸800x586
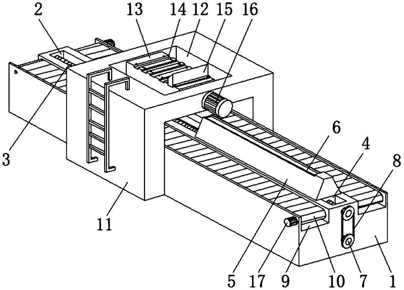
一种拉床的自动上下料装置及方法与流程
图片尺寸721x1000
一种便于清理拉刀的卧式拉床的制作方法
图片尺寸443x329
一种拉刀下推式筒式拉床的制作方法
图片尺寸986x1000
一种电梯导轨加工卧式高速拉床-爱企查
图片尺寸800x574
立式拉床用换刀装置-爱企查
图片尺寸1903x1415
一种双导柱双伺服立式内拉床的制作方法
图片尺寸817x1000
一种房车用额头抽拉床的制作方法
图片尺寸443x258
一种轴瓦半径高拉床的制作方法
图片尺寸438x429
一种轴套内孔打磨拉床的制作方法
图片尺寸1000x826
拉床及其工作台的制作方法
图片尺寸818x1000
拉床工件传递装置-爱企查
图片尺寸1997x1487
一种电梯导轨加工卧式高速拉床的制作方法
图片尺寸1000x718
万啦啦暑假成长公益礼仪云课程第一课起床礼仪
图片尺寸1080x778
小宝宝简笔画
图片尺寸200x134
吊床简笔画图片
图片尺寸508x350