拉条设计

西双版纳光伏拉条厂家迈航紧固件设计精巧,安装简单,有效降低施
图片尺寸3648x2736
新疆拉条子包装设计.真拉旗下疆山红仁品牌,新疆拉条子设计#包
图片尺寸1920x1896
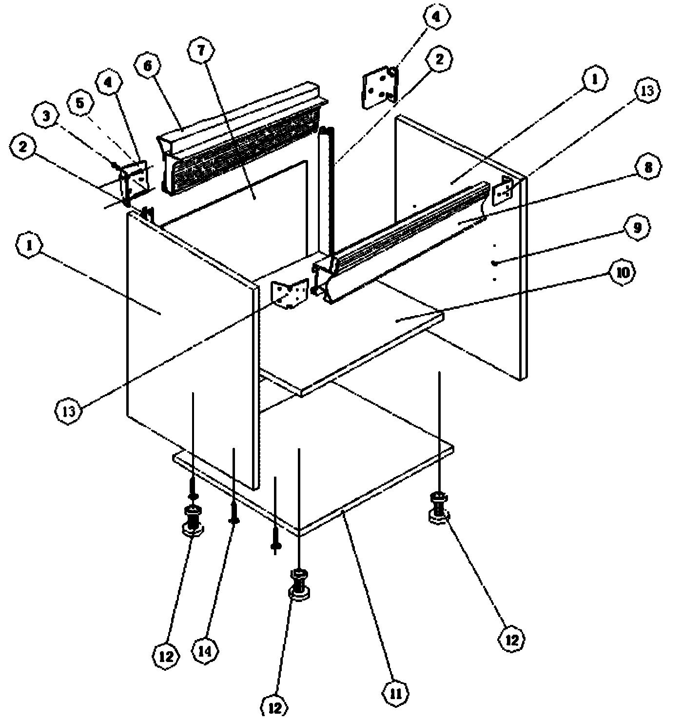
方便实用,具有人性化设计特点的多功能金属拉条以及含有该拉条的柜体
图片尺寸1399x1480
撕拉条的包装设计总给人一种仪式感
图片尺寸1080x1439
旅游标语合影彩色旗帜手拉条制作年会尾牙宴聚会研学活动挂布条幅设计
图片尺寸1440x1440
砼柱轻钢屋面厂房设计图
图片尺寸549x395
门式刚架拉条连接节点构造详图
图片尺寸356x312
上拉条cad图纸
图片尺寸640x480
pkpm门式刚架设计中屋面围护结构构件檩条支撑系杆拉条如何出施工图
图片尺寸2238x1398
拉条单双层设置原则
图片尺寸401x242
在包装上面加一个撕拉条设计
图片尺寸563x706
钢结构厂房中的拉条与撑杆设计详解
图片尺寸720x960
1.本外观设计产品的名称:背拉条
图片尺寸785x707
撕拉条飞机盒小红书
图片尺寸640x1437
奶茶店宣传横幅免费设计彩色拉条条幅
图片尺寸800x800
钢结构屋面檩条布置图里,哪个是檩条,哪个是拉条,哪个是撑杆呢?
图片尺寸1216x705
拉条单双层设置原则
图片尺寸280x289
cad屋面画法资料
图片尺寸760x554
美容院横幅定制美甲美业开业大吉拉条
图片尺寸800x800
新疆拉条子图片1,高清新疆拉条子图片1图片/素材
图片尺寸366x582