拉筒制作图纸

手袋箱包拉筒示意图.ppt
图片尺寸1152x864
拉筒及缝纫机的制作方法
图片尺寸892x1000
一种新型制衣拉筒的制作方法
图片尺寸985x1000
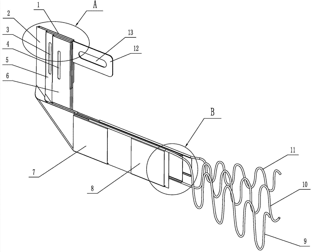
一种可加绳索的定位拉筒的制作方法
图片尺寸1000x887
一种翻绳拉筒的制作方法
图片尺寸1000x709
用于对双面尼止口织带包边的包边拉筒的制作方法与工艺
图片尺寸1000x476
包缝撑条拉筒制造技术
图片尺寸1000x448
新型拉筒的制作方法
图片尺寸526x601
一种高品质服装的双层门巾拉筒装置制造方法及图纸
图片尺寸450x318
三层毛边拉筒
图片尺寸1000x808
一种双层布料反向搭边包裹拉筒的制作方法与工艺
图片尺寸1000x473
纺织织造皮革制品制作工具设备的制造及其制品技术处理方法
图片尺寸794x1000
一种方便加工的晶硅太阳能电池片的刻蚀夹具的制作方法
图片尺寸921x1000
拉筒图纸 - 美篇
图片尺寸2000x2666
一种暗门襟拉筒及熨烫台的制作方法
图片尺寸1000x401
背景技术:在服装制造的过程中,通常会利用拉筒反肩带,由于及骨车针板
图片尺寸1000x466
技术介绍 现在,拉筒广泛应用于各种面料缝纫制作过程中的折边等工艺
图片尺寸1000x449
缝纫用包边装置制造方法及图纸
图片尺寸1000x456
针】16号(牛仔线),9号(50号线)【辅助工具】绣花压脚,定规,包边拉筒
图片尺寸665x925
针】16号(牛仔线),9号(50号线)【辅助工具】绣花压脚,定规,包边拉筒
图片尺寸665x925