拉索怎么画

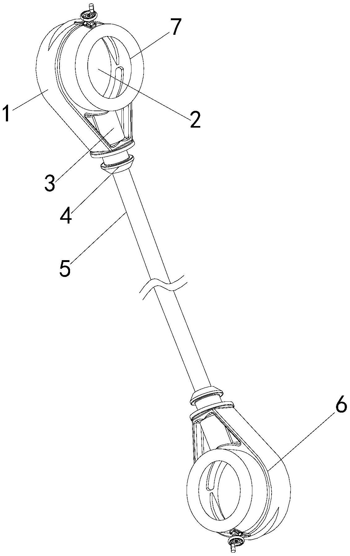
具有蜂窝式防护结构的桥梁拉索
图片尺寸1098x2294
cn206206002u_一种汽车用油门拉索有效
图片尺寸823x1000
一种高压输电线路防风偏刚性绝缘拉索及安装方法
图片尺寸527x869
稳定索可采用不同的组合方式,两索之间应分别以受压撑杆或拉索相联系
图片尺寸331x209
汽车座椅拉索
图片尺寸1108x776
拉索固定卡子
图片尺寸1517x2141
机构,包括左调节机构总成,右调节机构总成,拉索总成和电动驱动总成;所
图片尺寸2487x1248
当平面为矩形或多边形时,可将拉索平行布置构成单曲下凹屋面.
图片尺寸331x303
cn201301432y_复合防腐型拉索失效
图片尺寸1404x1388
采用同向回转拉索的斜拉桥-爱企查
图片尺寸1696x1067
商标logo
图片尺寸1708x980
前拉索总成,23974059
图片尺寸2481x3508
cn202416176u_一种防震抗腐蚀桥梁拉索失效
图片尺寸456x384
大跨度曲线型悬垂钢梁及预应力斜拉索安装工法
图片尺寸1313x1000
cn213548489u_一种旋转拉索结构及园林工具有效
图片尺寸2038x1246
一种水下斜拉式悬浮隧道的拉索结构
图片尺寸1129x1791
一种拉索式输电塔
图片尺寸1670x1907
一种悬索结构拉索连接节点
图片尺寸377x583
一种汽车座椅用异步拉索结构的制作方法
图片尺寸2013x1746
发动机罩开启拉索,24513412
图片尺寸2481x3508