拉绳灯结构图

一种拉绳式灯体的制作方法
图片尺寸1000x714
拉绳开关接楼梯灯
图片尺寸750x750
安装拉线开关:控制白炽灯的开关,应串接在通往灯头的相线上,也臼乔
图片尺寸1399x1280
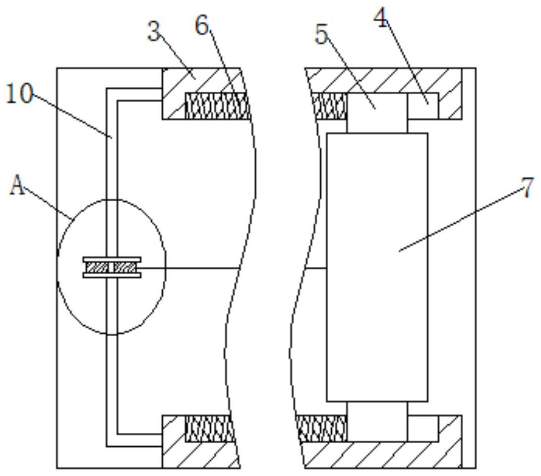
一种拉绳式对灯体进行清灰的路灯-爱企查
图片尺寸1091x960
怎么接老式的灯泡拉绳?
图片尺寸450x358
台灯农村道具拉绳灯一关拉盒开关 老式 拉线灯绳快速拉线灯电灯家
图片尺寸784x784
老式拉绳开关怎么安装图片,老式灯泡开关接线,电灯拉绳开关接线图,拉
图片尺寸500x502
开关拉灯拉线装饰灯灯具拉绳关灯老式控制器吊灯单控开关
图片尺寸800x800
接线简单 电风扇灯吊扇灯拉线开关3档调档调速控制器拉绳灯具配件
图片尺寸750x421
一种带闪烁指示灯的输送带拉绳开关的制作方法
图片尺寸488x407
老式拉线开关加厚铜柱家用灯泡单控手拉盒接线古达墙壁拉绳开关6a250v
图片尺寸800x800
一种可灯光报警的拉绳开关的制作方法
图片尺寸820x1000
80年代拉线开关,开关灯 - 抖音
图片尺寸750x750
cn87205098u_日光灯无启辉器节电拉线开关失效
图片尺寸800x793
拉链开关 on-off功能 拉线拉制吊扇壁挂灯用 3a250v ul cqc认证
图片尺寸800x800
走线灯轨道灯led射灯钩片家用客厅简约拉线灯光效背景照画钢丝灯
图片尺寸750x750
墙壁拉线拉链拉绳开关展厅壁灯风扇店铺开关灯具灯饰配件
图片尺寸750x750
灯具快速通电连接结构制造技术
图片尺寸656x438
拉线开关拉链拉绳吊扇壁灯床头灯台灯开关灯具灯饰diy配件
图片尺寸750x750
如何接家里的灯线,家用灯线怎么接(老式拉线开关怎么接线)
图片尺寸640x853