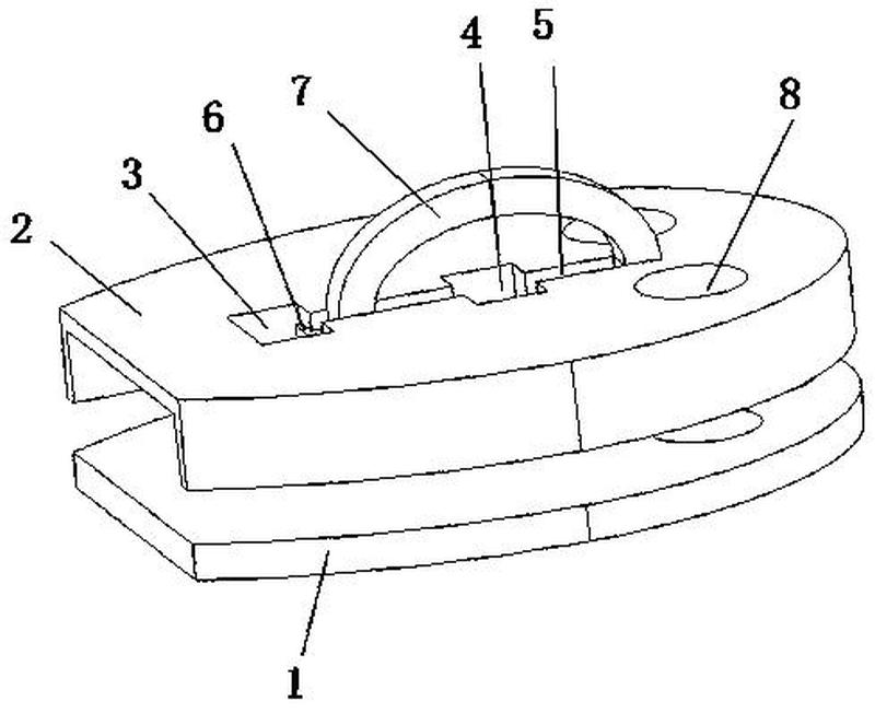
拉链头结构图

一种新型拉链头
图片尺寸1785x2415
东莞树脂拉链定制
图片尺寸500x500
现货拿样8号树脂拉链特殊牙齿菱形牙拉链双开尾120cm
图片尺寸750x1043
拉链头组合结构及其连接套环
图片尺寸2475x2136
现在知道怎么辨别拉链拉头 怎样选择型号了 俺 - 抖音
图片尺寸1059x1146
一种拉链拉头结构-爱企查
图片尺寸736x800
hok拉链 广东辉丰科技股份有限公司 - 拉链结构
图片尺寸666x318
图2-20 拉链头结构示意图
图片尺寸939x448
拉链的拉头的制作方法
图片尺寸929x1000
2020年中国拉链行业市场规模,进出口及竞争格局分析,民族企业竞争力不
图片尺寸750x531
拉链的组成结构选购和测试指标
图片尺寸1024x540
一种便于锁止的拉链头-爱企查
图片尺寸800x652
自锁拉链头
图片尺寸1395x2217
一种新型可拆卸拉链头的制作方法
图片尺寸1000x590
一种双层单孔拉链头的制作方法
图片尺寸926x1000
拉链的结构
图片尺寸755x440
一种隐形密封拉链的轴承拉头的制作方法
图片尺寸1000x954
一种夜光拉链头的制作方法
图片尺寸1000x644
【厂家直销】 3#5#8#树脂拉链,电镀金色银色
图片尺寸935x483
ykk拉链用途分类
图片尺寸850x1169