拖把的制作方法图解

对外批发卫誉达拖把好神拖旋转拖把桶双驱动拖把套装旋转拖把
图片尺寸750x1311
海绵拖把 不锈钢对折胶棉拖把 超强吸水海绵地拖 义乌日用小百货
图片尺寸750x905
折叠挤水式拖把
图片尺寸1792x2565
拓朴tx-n2023 旋转拖把外观展示(握杆|把手)
图片尺寸600x1067
生产拖把厂家 #手工制作 - 抖音
图片尺寸1074x1434
2016江湖地摊新品多功能拖把不锈钢平板拖把免沾手自动拖把.
图片尺寸750x1154
宅一起吸水海绵拖把可伸缩对折式挤水家用胶棉拖把地拖拖布免手洗
图片尺寸790x889
拖把替换头,棉线绳子,捆扎带自制拖把配件,花线红白蓝色拖把条
图片尺寸1000x1000
百利莱地拖桶大蛋蛋钢双驱动拖布桶旋转好神拖拖把厂家直销
图片尺寸772x650
三种不同的拖把的使用感受
图片尺寸1080x1439
可甩乾脱水的旋转式拖把
图片尺寸1769x2448
cn213189382u_一种长杆吸水拖把
图片尺寸1746x2027
cn206630562u_一种喷雾式平板拖把有效
图片尺寸658x1000
2890的普通拖把也可以轻松替代百元拖地机
图片尺寸1080x1441
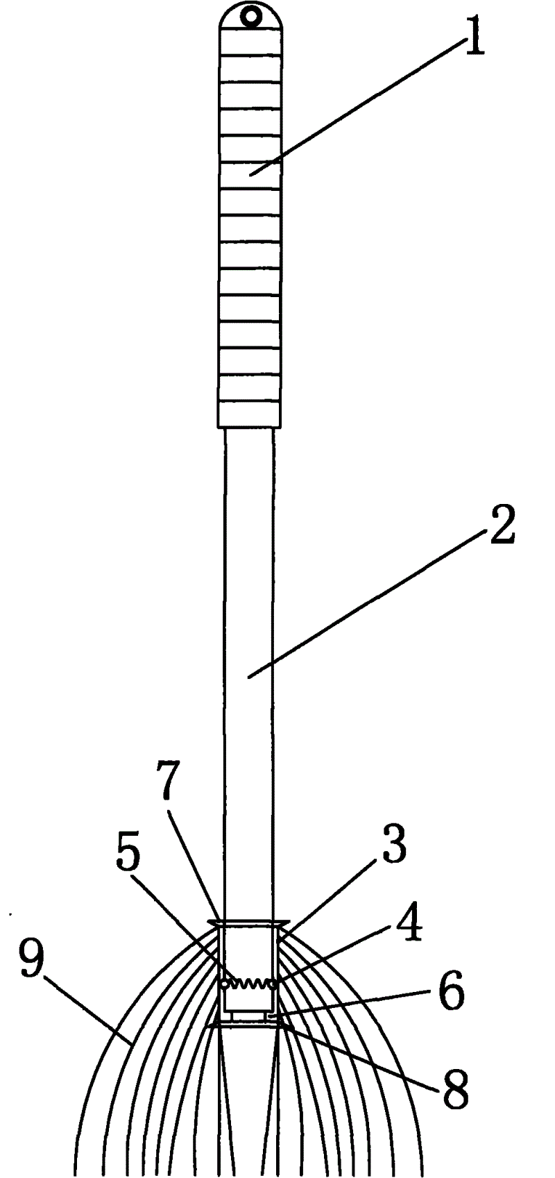
一种便捷拖把
图片尺寸800x1697
这拖把拖地真的无水渍地板告别雾蒙蒙
图片尺寸1080x1439
手工拖把 #专业生产厂家 - 抖音
图片尺寸852x1514
幼儿园手工拖把制作方法-彩泥制作教程
图片尺寸500x400
cn104337474a_一种拖把失效
图片尺寸966x1000
我的抖音生活日记 #清洁用品#家庭用品#手工制作#胶棉拖把 - 抖音
图片尺寸640x640