拨杆机构

汽车转向拨杆机构
图片尺寸728x548
汽车转向拨杆机构
图片尺寸722x663
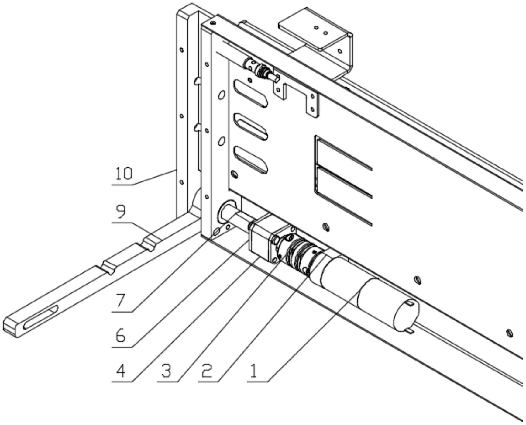
新型货叉拨杆机构
图片尺寸1678x1809
用于夹抱式货叉的拨杆机构-爱企查
图片尺寸1731x1398
cn209666256u_圆形胶圈自动成型机的拨杆机构
图片尺寸1000x950
一种拨杆自动组装机的弹簧进料机构
图片尺寸1141x1708
汽车转向拨杆机构
图片尺寸820x464
拨叉往复摆动机构
图片尺寸723x539
cn2757592y_爆谷机拨杆结构失效
图片尺寸1417x977
一种汽车空调风门拨杆机构制造技术
图片尺寸479x308
变速器操纵机构ppt
图片尺寸1080x810
cn201191972y_旋耕机离合拨杆机构失效
图片尺寸1196x1183
一种防过载转动拨杆的制作方法
图片尺寸1000x800
新型货叉拨杆机构制造技术
图片尺寸926x1000
417 连杆杠杆式抓取机构
图片尺寸1440x902
拨杆输送机构的制作方法
图片尺寸443x286
一种凸轮拨杆开关仓门机构的制作方法
图片尺寸1000x712
cn106348208a_货叉拨杆机构失效
图片尺寸1926x1014
商标logo
图片尺寸1844x1496
一种自动拨杆执行组合机构的制作方法
图片尺寸417x444