挂车鞍座分解图

牵引后托臂
图片尺寸300x225
重卡汽车鞍座故障
图片尺寸640x383
厂家专业生产 半挂车牵引座 半挂车身配件 鞍座 半挂车牵引配件
图片尺寸989x550
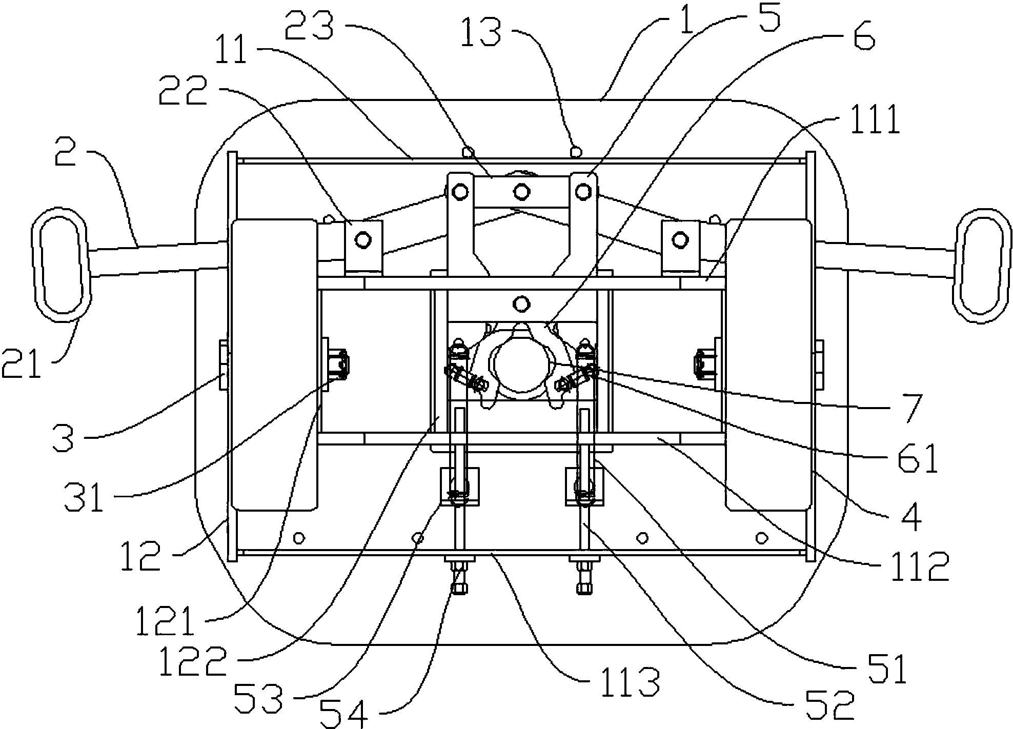
一种牵引汽车鞍座固定装置的制作方法
图片尺寸444x303
cn207955642u_一种铁路驼背运输车用的半挂车牵引座有效
图片尺寸1976x1422
半挂车牵引座
图片尺寸813x542
9018型号鞍式牵引座
图片尺寸751x465
挂车鞍座手机号同微信qq号
图片尺寸500x372
改进式鞍座结构制造技术
图片尺寸753x866
cn208325430u_一种挂车牵引座有效
图片尺寸1488x1388
cn204750335u_一种轻型牵引车鞍座有效
图片尺寸1000x686
一种半挂车牵引座
图片尺寸1000x776
一种半挂车牵引座的制作方法
图片尺寸1000x776
全挂车和半挂车的区别图解
图片尺寸605x375
挂车连接鞍座结构(挂车牵引座结构详解)(3)
图片尺寸640x433
2702010一k1003东风商用车天龙牵引车半挂车90型鞍座总成及鞍座磨盘易
图片尺寸750x574
富华桥半挂车鞍座加高垫板牵引车磨盘增高牵引座配件大全加强跨境
图片尺寸800x800
挂车鞍座手机号同微信qq号
图片尺寸600x450
天龙半挂车牵引座90加重鞍座转盘单摆双摆磨盘货车转向卡拖配件
图片尺寸1080x1080
卡车货车半挂车配件9050鞍式牵引座磨盘双摆双自由度牵引鞍座磨盘单摆
图片尺寸1200x1200