挂钩图纸

工程制图钩子详细画法
图片尺寸1080x1408
起吊钩的画法.制图习题集之大学必画练习图#起吊钩 #制图习
图片尺寸1080x1920
机械制图钩子吊钩
图片尺寸1280x1706
🎨机械制图手绘:吊钩绘制教程.📌好看的皮囊轻而易举,有趣
图片尺寸1920x1080
autocad 基础教程:绘制吊钩
图片尺寸512x589
一种便捷式喷漆挂钩
图片尺寸1566x1535
挂钩cad图纸
图片尺寸628x616
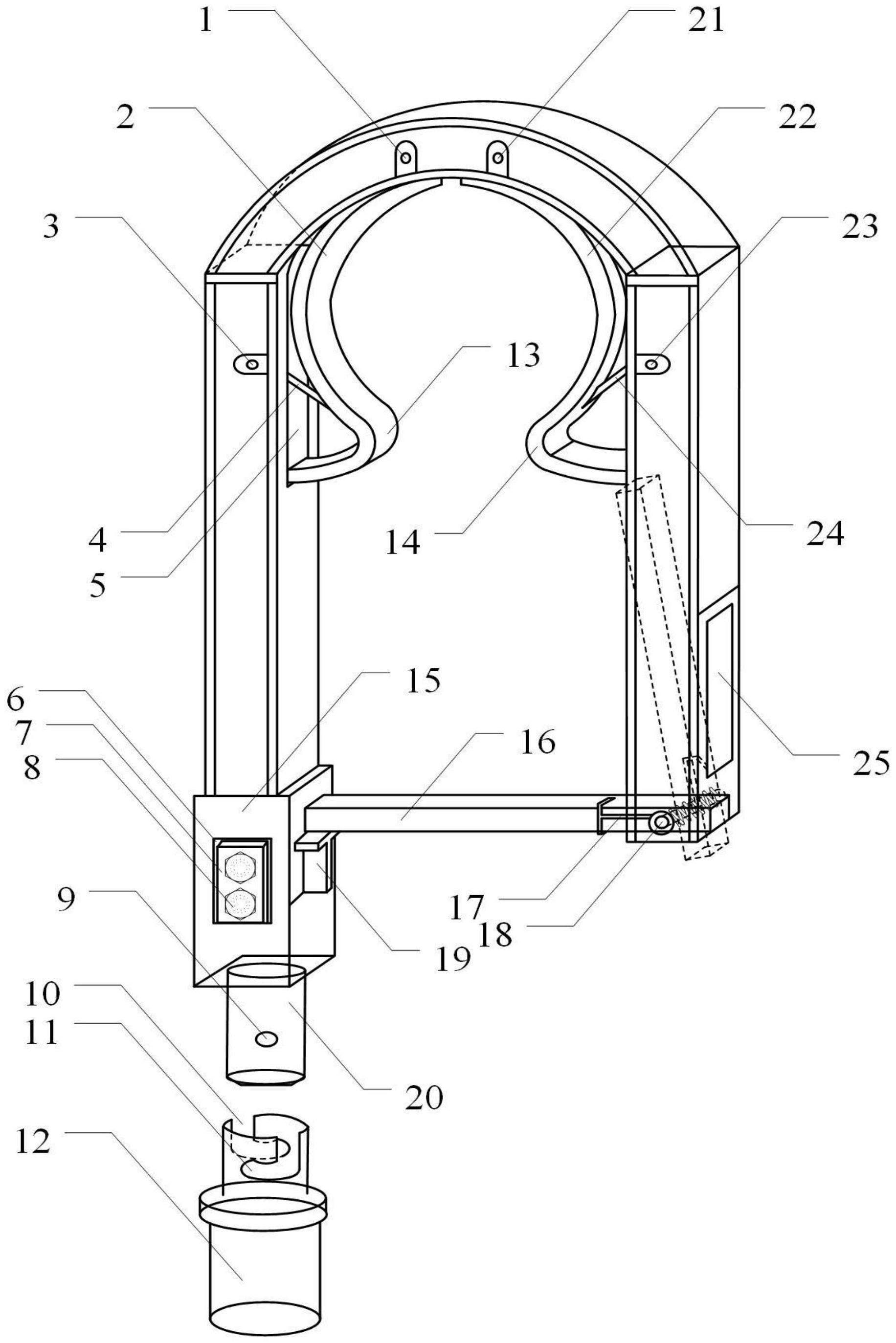
一种电动起重机挂钩
图片尺寸2009x2201
运用autocad放样制作起重机吊钩的三维效果
图片尺寸2294x3251
商标logo
图片尺寸1566x1814
机械男——起重机吊钩制造全流程解析
图片尺寸1080x1555
吊钩的画法仅限借鉴
图片尺寸800x1132
cad怎么画吊钩钳单板钩
图片尺寸1221x1767
图片尺寸1532x2394
吊钩cad图纸
图片尺寸820x1166
一种新式底部开口的锁扣式接地线防脱落挂钩装置
图片尺寸1832x2747
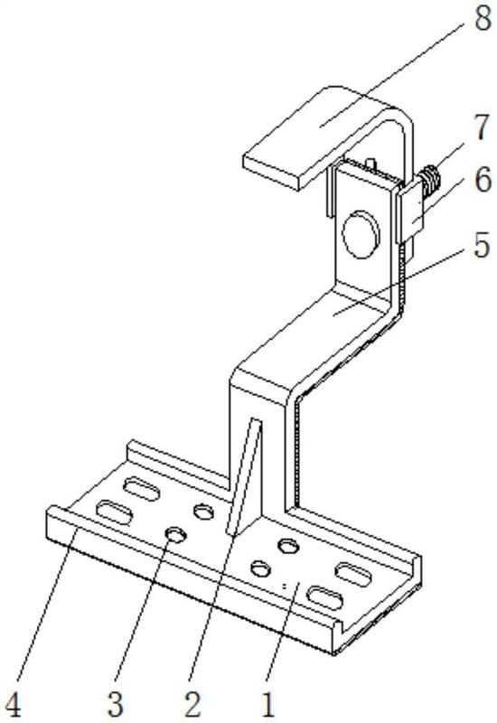
一种光伏支架配件挂钩
图片尺寸550x800
四川广元 组合矿用电缆挂钩 pvc系列矿用塑料挂钩平凉
图片尺寸750x1087
吸盘挂钩的制作方法
图片尺寸1797x1176
一种起重机用挂钩的制作方法
图片尺寸877x1000