按压泵头结构图

全塑塑料按压泵体的制作方法
图片尺寸1400x2240
一种弹簧外置防溢按压泵
图片尺寸1571x2600
日用品包材 28/410按压式乳液泵 洗手液沐浴露喷头 手压式乳液泵
图片尺寸750x1393
批发按压式塑料材质电镀长嘴乳液泵头 沐浴露洗发露亮银乳液泵头
图片尺寸626x1024
批发洗发水乳液泵头黑色鸭嘴泵402型33牙乳液泵头外置弹簧按压泵
图片尺寸790x1155
按压式24/410电化铝泵头 塑料pp洗发水泵头 24牙氧化铝内置泵头
图片尺寸750x621
弹簧外置式乳液泵
图片尺寸2015x2836
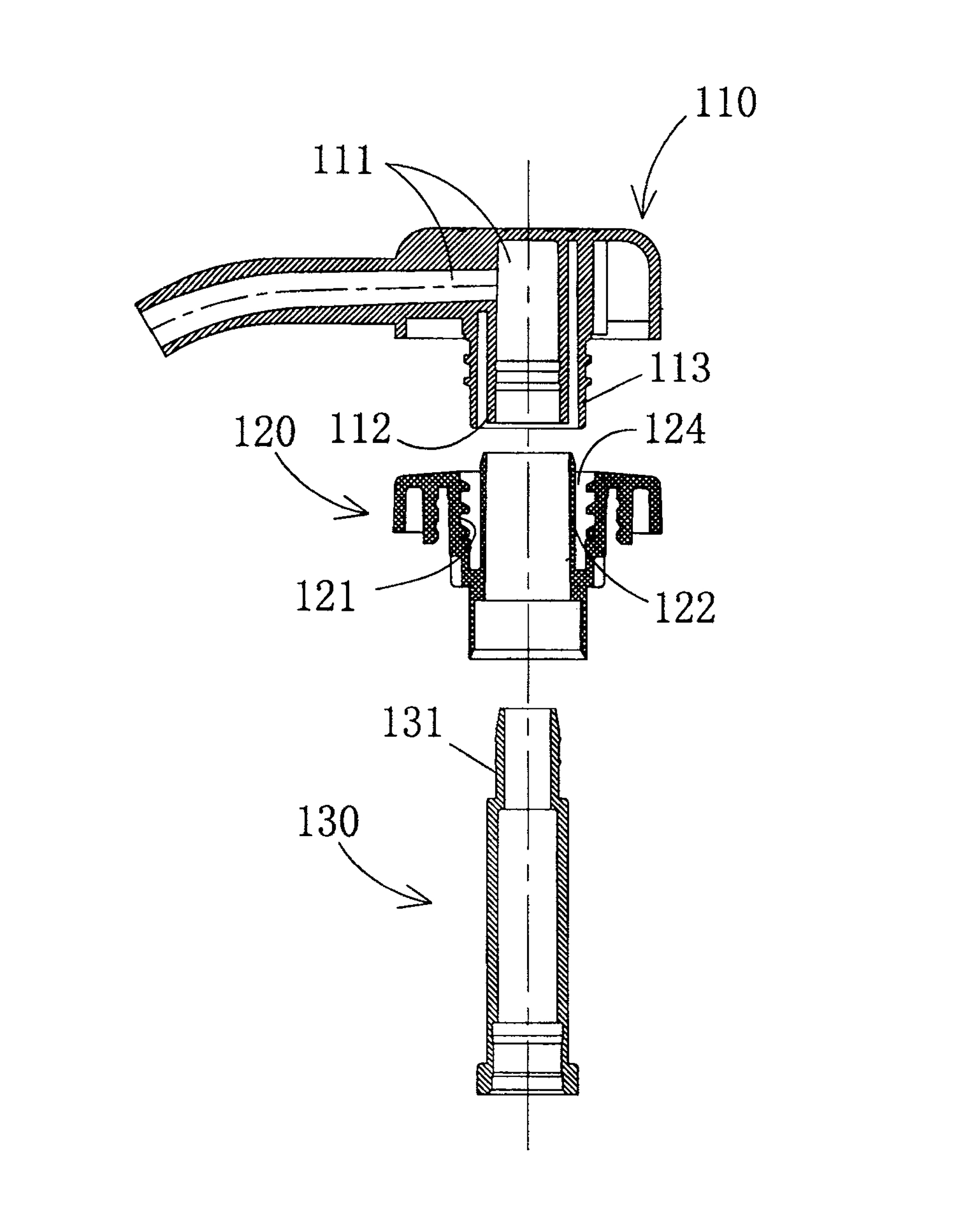
一种按压式泵头结构的制作方法
图片尺寸965x1649
涉及一种液体泵头结构,更具体的说,本发明主要涉及一种按压式乳液泵头
图片尺寸602x846
一种卡扣防丢失跟随式按压泵
图片尺寸891x1750
一种防污染的按压式乳液泵头的制作方法
图片尺寸1000x530
工厂白色现货43mm泡沫泵头按压起泡器洁面洁牙慕斯清洁剂泡沫泵头
图片尺寸800x1229
厂家批发塑料喷头 喷头喷嘴 按压式乳液泵头 塑料泵头
图片尺寸800x918
一种泡沫按压泵头的制作方法
图片尺寸556x895
一种防污染防滴漏的按压式乳液泵头的制作方法
图片尺寸843x1000
乳液泵防进水机构
图片尺寸1880x2354
一种按压式泵头结构的制作方法
图片尺寸662x1000
弹簧外置式乳液泵
图片尺寸2015x2836
批发定制经典耐用塑料乳液泵头 沐浴露洗发水通用纯色乳液喷头
图片尺寸800x800
乳液泵防进水机构
图片尺寸1880x2354