挤压机原理图

挤出机的工作原理
图片尺寸1355x733
一种挤压机
图片尺寸2344x1614
特斯拉,小米抢着用的压铸机,中国做到了世界第一
图片尺寸1080x567
挤压系统:包括螺杆,机筒,料斗,机头,和模具,塑料通过挤压系统而塑化成
图片尺寸450x290
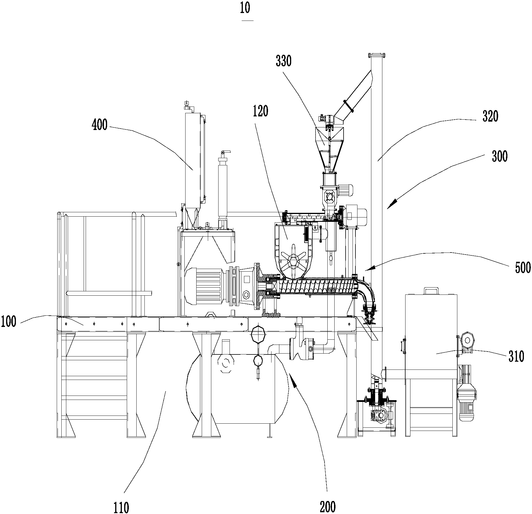
cn113083931a_一种连续挤压机在审
图片尺寸2042x1454
一种双螺杆挤出机侧向喂料装置
图片尺寸1652x1832
卧式和立式挤压机
图片尺寸730x1278
铝材挤压机
图片尺寸1876x1093
卧式挤压机
图片尺寸600x400
一种铝管连续挤压机-爱企查
图片尺寸1522x881
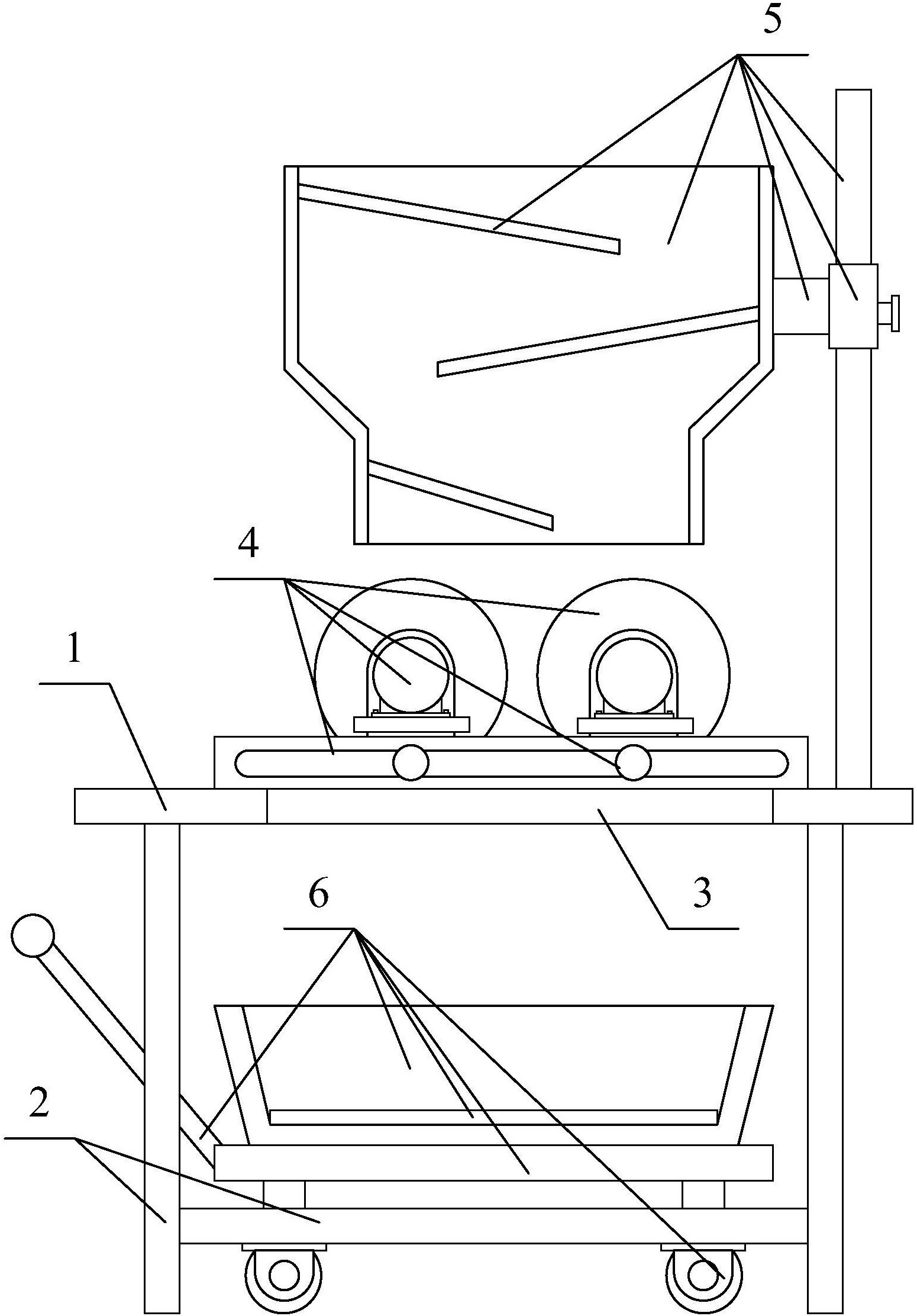
一种螺旋挤压脱水机的制作方法
图片尺寸1000x553
一种塞式挤压机的制作方法
图片尺寸938x1000
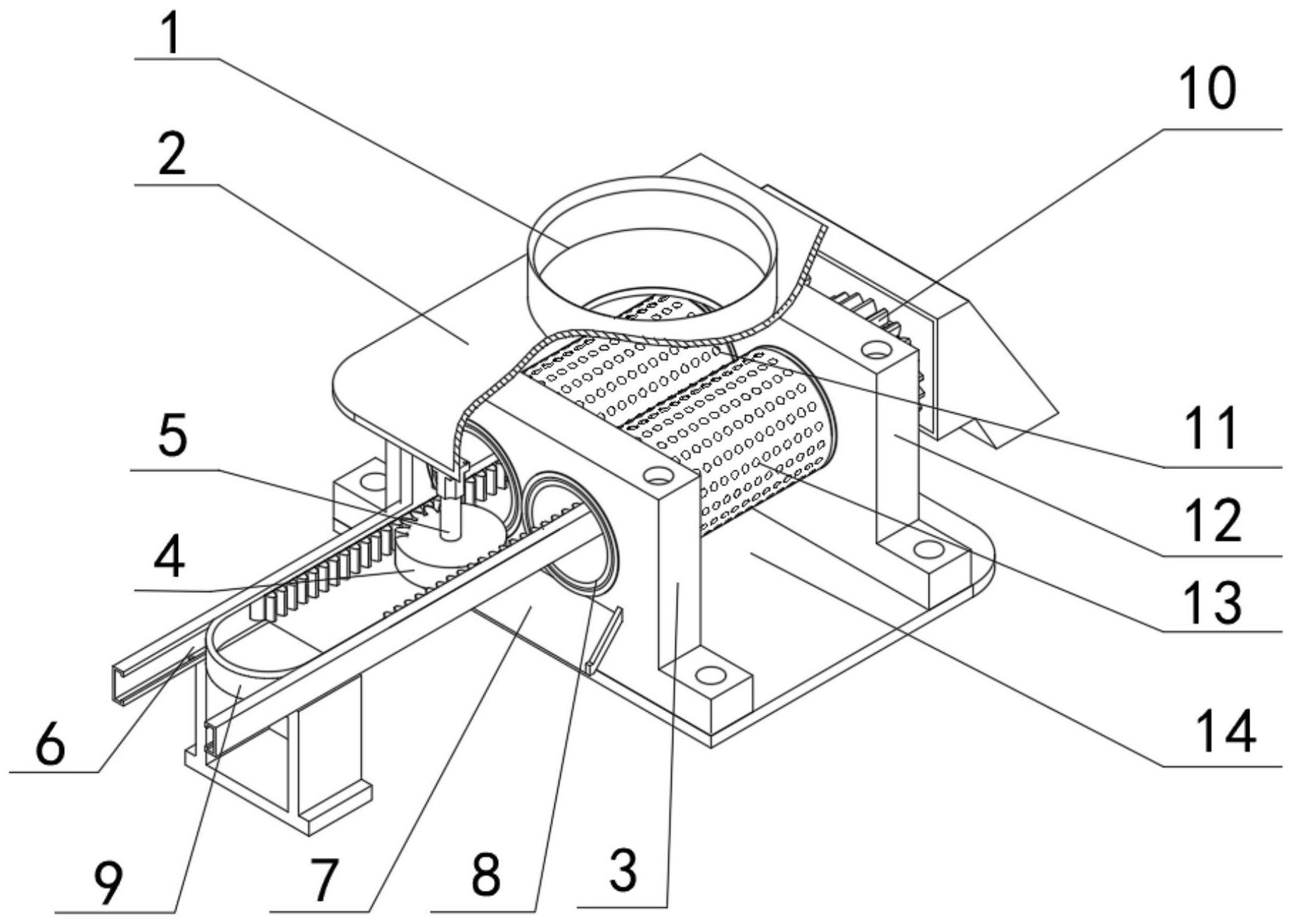
一种对辊挤压式推杆切料造粒机
图片尺寸1835x1314
> 挤出成型原理塑料挤出成型原理,绝对全面 挤出成型设备 1,主机 挤出
图片尺寸1004x611
cn101337325a_新型点动卧式挤压剪切机失效
图片尺寸2895x1975
温冷挤压液压机比例直驱系统
图片尺寸2277x1684
一种真空负压冷挤压机
图片尺寸1838x1775
一种可调节的智能化生产铝合金型材用的挤压机
图片尺寸1550x2223
挤压机业精600t,1000t,1650t,富基700t,1000t油路图
图片尺寸1242x1656
xj1250挤压机液压原理图
图片尺寸561x402