振动传感器结构

压电式振动传感器的工作原理及结构
图片尺寸750x600
磁电式振动传感器
图片尺寸710x382
图1 是典型的加速度传感器结构简图.
图片尺寸472x448
高温压电振动传感器厂家
图片尺寸640x410
振弦式传感器的原理及校准方法
图片尺寸1890x1748
背景技术:在测量水下结构振动时,需要在结构上安装水密振动传感器,水
图片尺寸996x1000
vbz9500型磁电式振动速度传感器
图片尺寸2590x996
一文读懂振动传感器
图片尺寸643x373
一文读懂振动传感器
图片尺寸640x480
振动传感器和检测装置
图片尺寸1369x1736
图2-24 压电式单向测力传感器压电式压力传感器的结构类型很多,但它们
图片尺寸273x212
日本imv艾目微振动传感器重庆代理 mems元件的振动传感器 重庆内藤
图片尺寸700x459
压缩式压电振动传感器
图片尺寸640x474
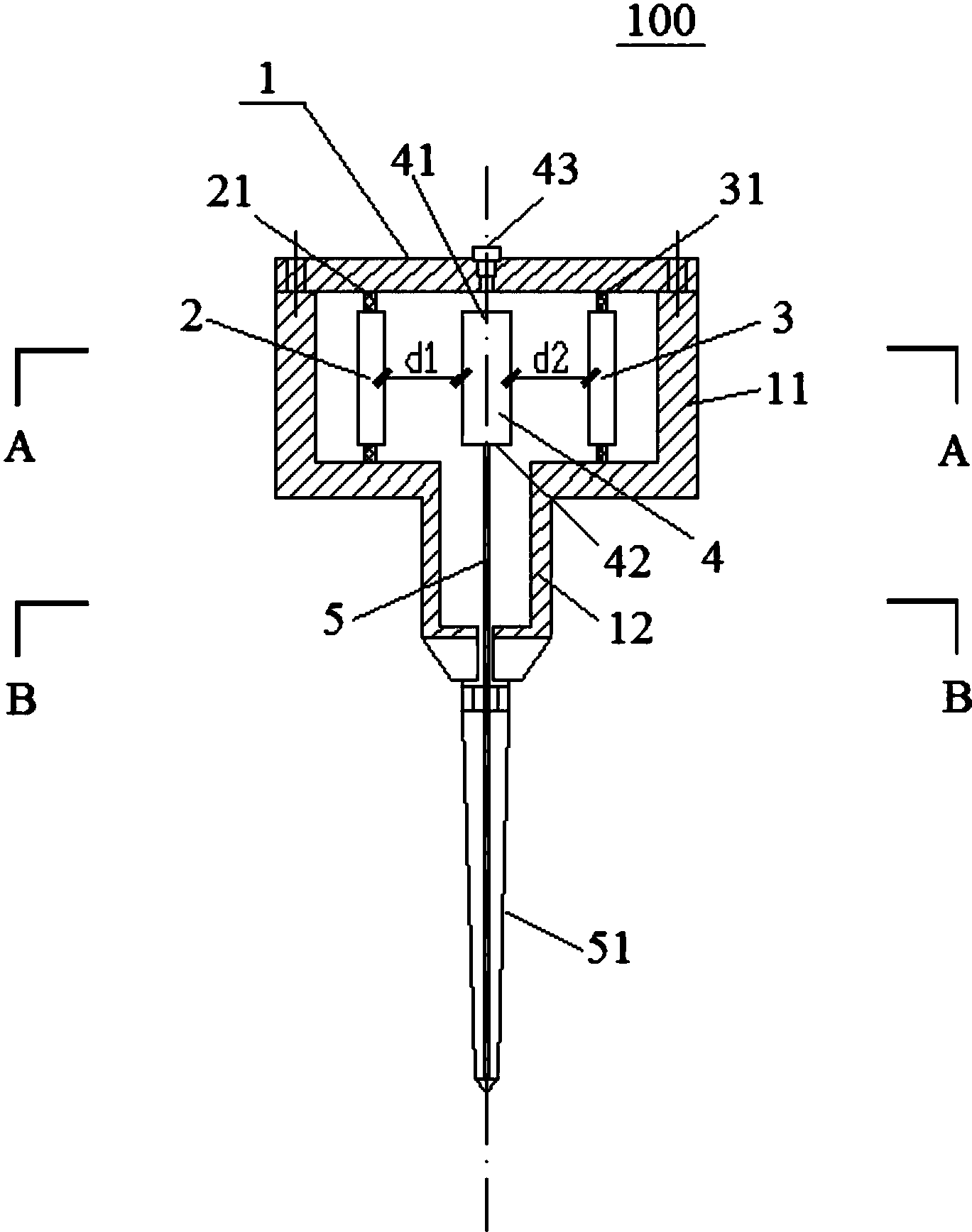
一种宽频压电振动传感器装配结构-爱企查
图片尺寸928x633
典型的磁电速度传感器及其特性
图片尺寸1080x810
产品结构
图片尺寸568x359
振动传感器的工作原理是什么
图片尺寸560x228
建立包括传感器敏感单元几何结构参数,物理参数,边界条件在内的
图片尺寸528x260
德优安jk920010001015一体化振动传感器
图片尺寸641x704
mlv-8-mlv-8振动速度传感器
图片尺寸367x279