振动抛光机原理图

400升研磨振动抛光机--厂家直销,量大从优
图片尺寸519x369
一种振动抛光机的制造方法与工艺
图片尺寸1000x707
振动抛光机的制作方法
图片尺寸1000x957
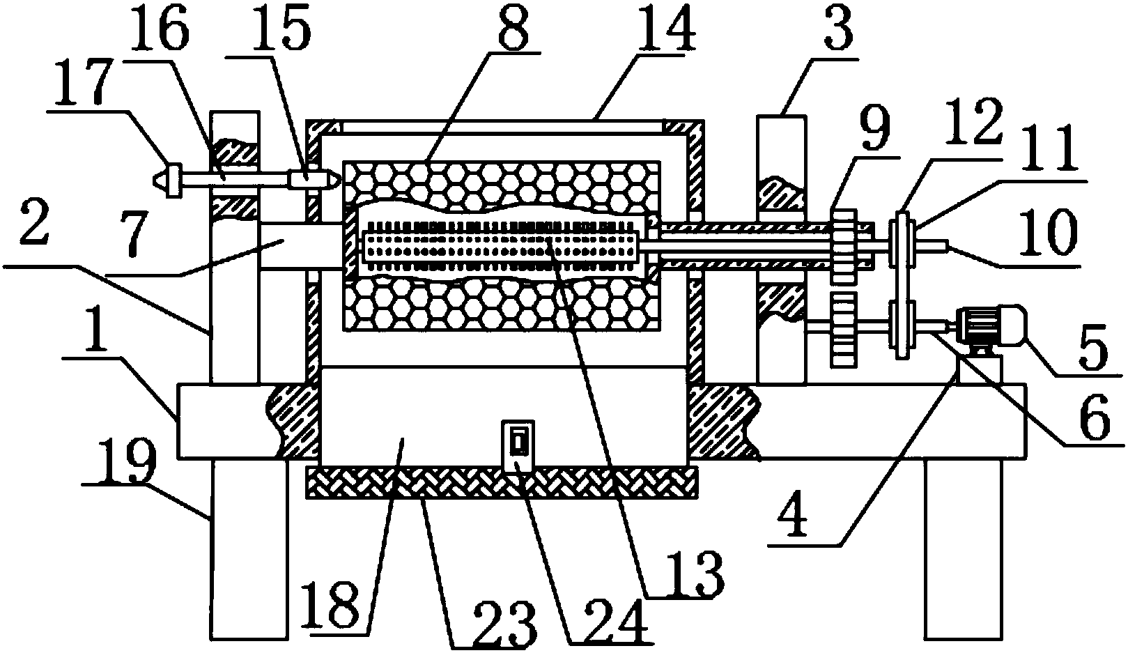
一种振动抛光机制造技术
图片尺寸1000x845
(优秀毕业全套设计)振动自动抛光机结构设计(整套下载)cad截图01
图片尺寸875x620
振动机出料原理与机构
图片尺寸530x364
振动研磨机震动水磨机振桶光饰机打磨机金属去毛刺抛光机350升圆弧分
图片尺寸790x627
0130-抛光机设计
图片尺寸825x596
宁波磁力抛光机
图片尺寸516x392
cn208051653u_一种磷铜球生产用抛光机有效
图片尺寸1619x937
振动抛光机
图片尺寸300x326
9超声波研磨抛光机原理图
图片尺寸418x247
四轴联动抛光机的制作方法
图片尺寸850x1000
振动自动抛光机结构设计含cad图纸说明书三维sw图纸
图片尺寸841x594
超声波抛光是利用工具端面作超声频振动,通过磨料悬浮液抛光脆硬材料
图片尺寸500x756
圆管抛光机工作原理/wo***ng principle of tube polishing machine
图片尺寸757x416
偏心抛光机的机械构造,一个动画了解运行原理!
图片尺寸640x360
cn2420101y_一种抛光机失效
图片尺寸925x647
振动抛光机 振动研磨机 震动光饰机
图片尺寸992x712
一种工作效率高的抛光机的制作方法与工艺
图片尺寸1000x954