振动电机结构

italvibras-g-silingardi振动电机原厂直采
图片尺寸1418x967
振动电机
图片尺寸1508x2423
vb振动电机
图片尺寸633x517
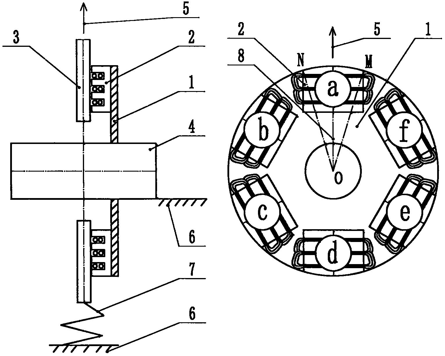
【发明专利】一种在正反转时产生不同振动力的振动电机振动结构不可
图片尺寸1000x863
海螺水泥专用yzo-140-6b 振动电机
图片尺寸406x276
【发明专利】一种在正反转时产生不同振动力的振动电机振动结构不可
图片尺寸1000x907
振动电机结构
图片尺寸434x273
主页 振动电机 卧式振动电机 振动电机的结构由两部分组成:一是专门
图片尺寸700x482
卧式振动电机-yzu-30-6振动电机
图片尺寸750x750
振动电机的制作方法
图片尺寸443x294
一种带底座的振动电机的制作方法
图片尺寸443x310
卧式振动电机
图片尺寸368x207
一种yzu系列卧式b型振动电机的制作方法
图片尺寸446x346
稳定产品质量 老品牌二手电机_二手电动机_二手高压电机 值得信赖
图片尺寸750x475
上一个 下一个> 微型振动马达 【结构及原理】 1
图片尺寸800x449
常见问答|深圳市普田振动电机有限公司
图片尺寸407x288
一种三相异步振动电机
图片尺寸1000x695
水冷脂润滑振动电机的制作方法
图片尺寸1000x969
圆振动电机
图片尺寸1530x1224
共振破碎机专用偏心式振动电机的制作方法
图片尺寸1000x613