振动结构图

压电晶片轴向和径向振动示意图
图片尺寸357x192
偏心振动结构工作示意图
图片尺寸344x229
振动台结构图
图片尺寸493x367
1 压电振子振动分析 压电振子为圆形压电单晶片,如图3所示.
图片尺寸448x206
【cn110011474a】一种在正反转时产生不同振动力的振动电机振动结构
图片尺寸443x383
cz200电磁仓壁振动器
图片尺寸568x359
此图为振动摩擦机线性振动摩擦焊接结构图
图片尺寸544x564
电磁式振动台 电磁激振器结构示意图 电磁振动台组成系统图
图片尺寸1080x810
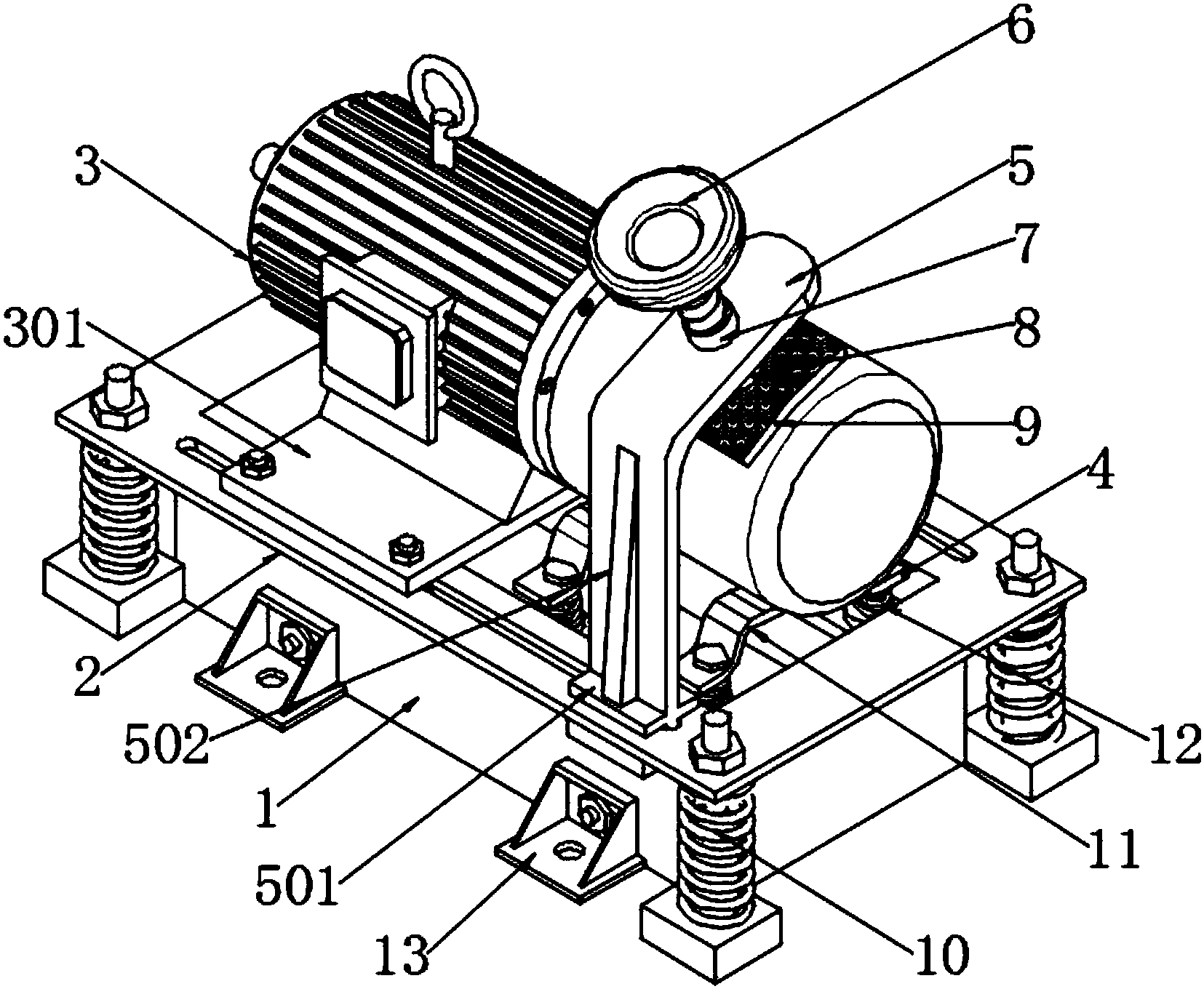
一种多振动结构的马达减振基座
图片尺寸1655x1360
水泥振动筛结构图
图片尺寸720x414
zg系列惯性振动器结构图
图片尺寸776x314
一种钢结构建筑物声音振动和结构应力变化监测传感器-爱企查
图片尺寸260x260
振动盘结构及工作原理
图片尺寸522x331
振动结构模态分析
图片尺寸627x235
cz电磁仓壁振动器结构主要:铁芯,机座,线圈,共振弹簧,振动体,调整螺栓
图片尺寸500x320
振动样品磁强计结构图
图片尺寸308x251
杰振动盘原理结构图_副本 拷贝
图片尺寸500x453
一种可调节振动频率的振动盘振动结构的制作方法
图片尺寸443x247
cn202181498u_一种振动压路机激振器结构失效
图片尺寸800x591
激振器,振动筛激振器,激振器工作原理,2019激振器厂家最新各型号价格
图片尺寸482x226