捞渣机结构

刮板捞渣机
图片尺寸3155x1780
供应郑州黄河机电glz刮板式捞渣机除渣系统
图片尺寸843x476
水浸式刮板捞渣机故障原因及改进措施
图片尺寸1633x921
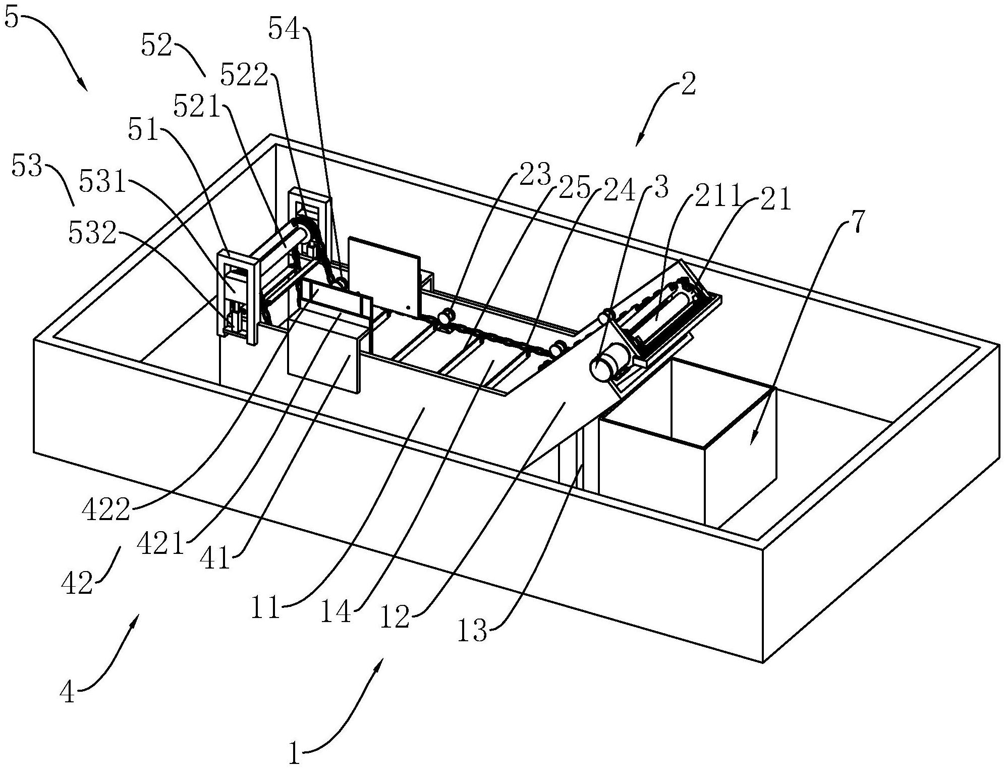
一种捞渣机积渣清理装置的制作方法
图片尺寸990x854
屠宰废水捞渣机
图片尺寸699x700
除渣机的介绍
图片尺寸551x322
水浸式刮板捞渣机
图片尺寸640x592
捞渣机内导轮组件-爱企查
图片尺寸2001x2353
cn208487630u_一种液压张紧式单层湿式刮板捞渣机有效
图片尺寸646x2295
一种环链式水封刮板捞渣机链条自动张紧装置
图片尺寸428x659
一种回转式捞渣机制造技术
图片尺寸948x1000
移动式框链捞渣机设计图
图片尺寸643x416
刮板捞渣机总装cad图纸整机可沿轨机械设备cad图纸
图片尺寸1065x778
一种刮板捞渣机的制作方法
图片尺寸1000x945
开扒渣机一定要注意这五点不注意扒渣机坏的快
图片尺寸3132x1584
捞渣机
图片尺寸601x400
刮板捞渣机
图片尺寸2720x1929
煤粉炉螺旋机械,除渣系统,炉底密封,螺旋式捞渣机
图片尺寸1328x750
一种水浴刮板捞渣机
图片尺寸1992x1525
螺旋捞渣机图cad图纸
图片尺寸667x531