换挡机构 结构

手动变速器换档机构结构图
图片尺寸848x500
手动挡汽车变速箱的换挡机构,是什么工作原理?求详解?
图片尺寸720x564
一种微耕机变速箱换挡结构-爱企查
图片尺寸800x572
电子换挡怎么样,为什么有人说电子换挡存在安全隐患?
图片尺寸640x407
原厂太贵了!今天交付一个高尔夫6国产品牌的手动挡换 - 抖音
图片尺寸1920x1440
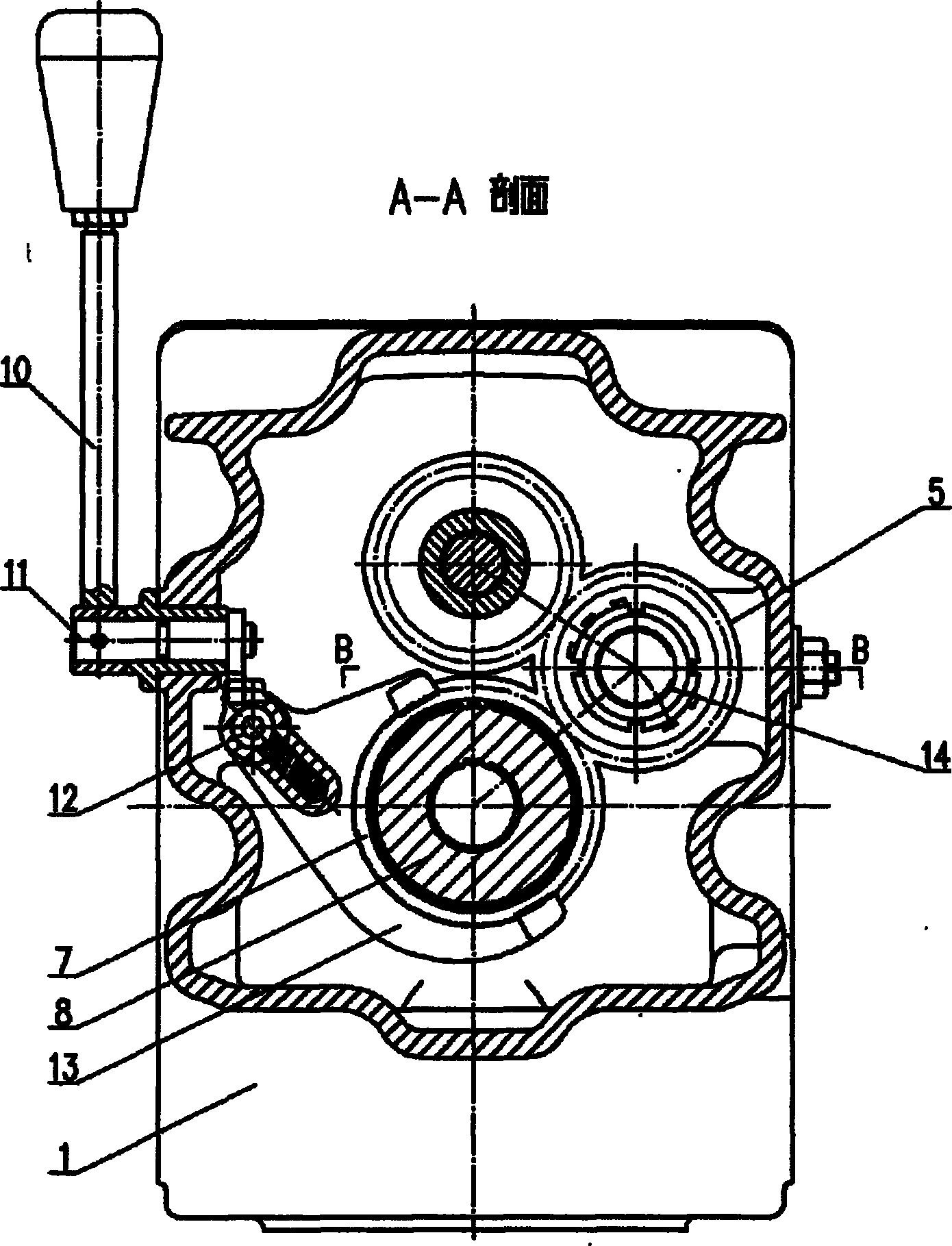
一种拖拉机梭式换挡装置-爱企查
图片尺寸1390x1819
变速器远距离换挡操纵机构-爱企查
图片尺寸1311x1116
拖拉机曲柄滑块式换挡机构-爱企查
图片尺寸528x392
一种车型的手动换挡机构的制作方法
图片尺寸712x1000
h6更换手动挂档杆机构总成.
图片尺寸960x1280
一种旋转换挡器的磁吸间隙式换挡结构的制作方法
图片尺寸1596x2157
桑塔纳2000轿车五档手动变速器的换档操纵机构
图片尺寸1885x1240
一种十字轴结构的换挡操纵机构
图片尺寸1599x2215
汽车部件维修实例 手动变速器需要依靠汽车驾驶员操纵换挡手柄
图片尺寸1728x1218
换挡机构
图片尺寸820x499
一种换挡执行机构,变速箱换挡系统以及车辆的制作方法
图片尺寸806x1000
一种三轮摩托车换挡结构的制作方法
图片尺寸443x387
恩斯克-ev两挡平顺换挡机构(pfsd)丨确认申报2023金辑奖·中国汽车新
图片尺寸1920x1080
自动挡换挡机构
图片尺寸820x666
老捷达换挡机构
图片尺寸1078x1129