换撑带

美国oppo 2168 腰间荐骨支撑带夏季透气 腰椎间盘突出 腰肌劳损 xl
图片尺寸800x800
胸围固定带胸部固定带
图片尺寸600x450
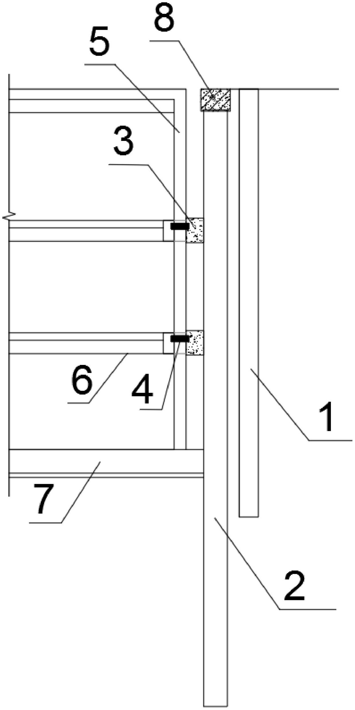
一种盖挖法用换撑传力带-爱企查
图片尺寸1238x2473
hernia belt成人腹股沟支撑带男性中老年女性小肠气斜加压固定带
图片尺寸754x814
地下结构后浇带可拆卸式换撑方法及结构-爱企查
图片尺寸490x318
换撑工字钢
图片尺寸1080x810
换撑板带节点详图
图片尺寸560x420
可调肋骨固定带胸带心脏术后康复胸椎绑带护具男女外翻带透气单肩加强
图片尺寸790x1110
这个我问师傅是叫换撑,想问下又什么用呢
图片尺寸500x375
肋骨固定带弹力可调节宽肩带式成人肋骨外翻绑带胸部护具姜黄色网孔
图片尺寸750x1000
换热机组吊装作业使用成华吊装带捆绑吊运
图片尺寸2392x1376
14款lux更换红色安全带教程贴.
图片尺寸700x1167
基坑换撑及内支撑拆除施工工艺卡,收藏学习!_进行_结构_要求
图片尺寸632x376
基坑换撑及内支撑拆除施工工艺卡,收藏学习!_进行_结构_要求
图片尺寸631x435
请问基坑围护里的换撑板传力带以后要拆吗
图片尺寸2592x1936
海南基坑腰梁钢管带换撑施工工法材料(55页)
图片尺寸562x434
基坑腰梁钢管带换撑施工工法
图片尺寸367x275
深基坑内支撑系统拆撑要点详解
图片尺寸1080x810
外剪力墙换撑部位混凝土浇筑
图片尺寸1600x1200
肋骨骨折固定带胸骨外翻绑带矫正弹性束胸支架医用胸部老人胸带骨折
图片尺寸467x756